В.А. Гуриков

ЭРНСТ АББЕ

Изд. "Наука", М., 1985


 

Глава вторая
Аббе и теория образования изображения в микроскопе

 

Особенности развития микроскопии до Аббе

Изобретателями сложного микроскопа, состоящего из двух линз, считают обычно Г. и 3. Янсенов, Галилея, Дреббеля. Точно известно, что в 1609-1610 гг. такой микроскоп был построен Г. Галилеем [1]. В первой половине XVII в. конструкция сложного микроскопа почти не претерпевала изменений. От очковых линз, используемых в качестве объективных стекол в микроскопах, переходили ко все более короткофокусным линзам. В 1646 г. А. Кирхер сделал первый обзор имеющихся в то время типов микроскопов [2].

В 1655 г. в Гааге выходит книга французского врача Пьера Бореля "О подлинном изобретателе телескопа, с краткой историей всякого рода увеличительных стекол", в которой публикуются документы, связанные с историей изобретения микроскопа. В числе этих документов было опубликовано письмо посла Соединенной Бельгии Виллема Бореля врачу Людовика XIV Пьеру Борелю, датированное 9 июля 1655 г.:

"Миддельбург, главный город Зеландии, моя родина; поблизости от дома, где я родился, на Зеленой площади, находится Новая церковь, у стен которой расположено несколько довольно низеньких домишек; в одном из них, около Западных Монетных ворот, жил в 1591 году (когда я родился) некий мастер очков по имени Ганс, а жену его звали Мария, который, помимо двух дочерей, имел сына по имени Захарий, коего я знал весьма близко, так как он, будучи мальчиком, постоянно бывал у меня, ибо мы были близкими соседями, и мы вместе играли с самого раннего возраста, и я также, будучи мальчиком, частенько бывал в их мастерской. Этот-то Ганс, т.е. Иоганн, с сыном своим Захарием изобрели, как мне часто приходилось слышать, первые микроскопы, которые они поднесли принцу Морицу, правителю и верховному командующему войсками Соединенной Бельгии, и получили какую-то награду. Подобный же микроскоп был ими впоследствии поднесен герцогу Альберту Австрийскому, верховному правителю королевства Бельгии.

Когда я в 1619 г. был послом в Англии, Корнелий Дреббель из Алькмара в Голландии, муж, сведущий во многих тайнах природы, находившийся там на службе у короля Иакова в качестве математика и близко мне знакомый, показывал мне тот самый инструмент, который эрцгерцог передал в дар этому Дреббелю, а именно микроскоп того Захария, и он не был (как их в настоящее время показывают) с короткой трубкой, но почти полтора фута длиною, а сама труба его, шириною в два пальца в диаметре, была сделана из позолоченной меди и укреплена на трех медных дельфинах, в свою очередь опирающихся на круглое основание из черного дерева, и этот круг поддерживал положенную на него всякую мелочь или что-либо весьма малое, каковые предметы мы рассматриваем сверху, наблюдая их в увеличенных почти до чудесных размеров форме..." [3].

Экземпляр микроскопа Захария Янсена, аналогичный тому, который упоминается в этом письме, хранится в музее г. Миддельбурга. По своей конструкции он состоит из трех грубо сделанных трубок из железа, входящих друг в друга. В качестве линз используются очковые стекла.

Наиболее интересный факт, который можно извлечь из приведенного выше письма Бореля, - описание микроскопа, который он видел у Дреббеля в Лондоне в 1619 г. В связи с этим возникает вопрос: а не является ли Дреббель изобретателем сложного микроскопа? Именно такого мнения придерживается Хр. Гюйгенс в написанной им "Диоптрике". Того же мнения придерживается и член Петербургской академии наук А.Н. Гришов.

Приведенные выше факты говорят о том, что двухлинзовый (сложный) микроскоп с двумя выпуклыми линзами (объектив и окуляр) появляется впервые в Англии или Голландии в 1617-1619 гг. При этом весьма вероятно, что К. Дреббель изготовлял микроскопы именно в этот период времени. Однако не известно, является ли сам Дреббель изобретателем микроскопа.

Известный историк микроскопостроения И. Гартинг придерживается версии случайного изобретения микроскопа:

"Мастер, шлифуя линзы и добиваясь все большей точности шлифовки, рассматривал одну линзу при помощи другой, как это и сейчас делают мастера-оптики. При этом могло быть случайно обнаружено, что пара линз, определенным образом расположенных друг относительно друга, дает большее увеличение, чем одиночная линза" [4].
В числе первых изобретателей сложного микроскопа называется Г. Галилей, который изобрел раздвижной телескоп. В конце 1609 - начале 1610 г. Галилей обнаружил, что его зрительная труба в раздвинутом состоянии позволяет сильно увеличивать мелкие предметы.
"Возможность изменять длину трубы, - отмечает С.И. Вавилов, - понадобилась Галилею не только для установки по глазу и портативности. Манипулируя выпуклой и вогнутой линзами, Галилей, по-видимому, еще в 1609-1610 гг. заметил, что при изменении расстояния между линзами можно рассматривать в увеличенном виде не только удаленные предметы, но и близкие. Иными словами, та же система из вогнутой и выпуклой линз может давать и телескоп, и микроскоп при вариации расстояния между линзами" [5].
В своем произведении "Пробирщик", опубликованном Галилеем в 1623 г., он ставит вопрос о том, как расстояние от зрительной трубы до наблюдаемых предметов влияет на их увеличение:
"Если приближаться на расстояния совсем малые, - в четыре шага, в два, в один, в половину, то изображение мутнеет и темнеет и для отчетливого и ясного наблюдения телескоп надо удлинять. Этому удлинению соответствует большее увеличение. При этом увеличение зависит только от удлинения трубы, а не от приближения предмета" [6].
Первое упоминание о микроскопе Галилея встречается в сочинении его ученика Джона Уоддерборна (1610):
"Несколько дней назад я слышал, как сам автор Галилей рассказывал Сиятельнейшему Синьору Кремоне различные вещи и, между прочим, каким способом при помощи своей перспективы (зрительной трубы. - В.Г.) он прекрасно различает органы движения и чувства мелких животных" [7].
Биограф Галилея Д. Вивиани также указывает на изобретение Галилеем микроскопа:
"Изобретение телескопа привело великого мужа к изобретению микроскопа... В 1612 г. он послал один свой микроскоп польскому королю Казимиру".
Факт изобретения Галилеем микроскопа подтверждает каноник Жан Тард, который, путешествуя в 1614 г. по Италии, посетил Галилея:
"Галилей сообщил мне, - писал  Ж. Тард, - что труба зрительного инструмента для наблюдения звезд имеет в длину не более двух футов, но, чтобы видеть объекты, которые находятся очень близко и которые мы не в состоянии рассмотреть по причине их крайней малости, необходимо, чтобы труба имела в длину два или три брасса; он рассказал мне, что с помощью этой длинной трубы он рассматривал двух мух, которые кажутся столь большими, как ягненок..." [8].
Таким образом, Галилей в 1609-1610 гг. создал свою конструкцию сложного микроскопа, состоящего из положительной и отрицательной линз. К 1624 г. микроскоп Галилея получает некоторое усовершенствование: он становится короче и для его изготовления Галилей применяет более короткофокусные линзы. Об этом сообщается в письме, написанном 11 мая 1624 г. Фабером в адрес Федерико Чези:
"Вчера я встретился с нашим синьором Галилеем, проживающим у церкви Магдалины. Он передал прекраснейший микроскоп синьору кардиналу Цолеру для герцога Баварского. Я сам видел муху, показанную мне синьором Галилеем. Я был поражен и сказал синьору Галилею, что он новый творец, так как показывает вещи, о которых не знали, что они были созданы" [9].
Именно такой микроскоп Галилей посылает 23 сентября 1624 г. князю Федерико Чези, основателю итальянской "Академии зорких", с сопроводительным письмом следующего содержания:
"Посылаю Вашему Превосходительству микроскоп для рассмотрения вблизи мельчайших предметов. Надеюсь, что вы найдете в этом также немалое удовольствие, как и я. Посылаю с запозданием, так как раньше не удавалось его довести до совершенства вследствие трудности хорошей обработки стекол. Предмет прикрепляется на подвижный круг, находящийся внизу; для того, чтобы видеть все, его надо двигать, ибо глазом видна только малая часть. Расстояние между линзой и предметом должно быть точнейшим, поэтому при рассматривании предметов, имеющих рельеф, нужно иметь возможность приближать и смещать стекла соответственно тому, какая часть рассматривается. Поэтому трубочка сделана подвижной на своей ножке или проводнике, как хотелось бы это назвать. Инструментом следует пользоваться на очень ясном и прозрачном воздухе, а лучше прямо на солнце, так, чтобы предмет был хорошо освещен. Я наблюдал очень много зверушек с бесконечным восхищением... В целом здесь можно без конца созерцать величие природы, сколь тонко она работает и с коей несказанной тщательностью" [10].
Начиная примерно с 1624 г. сложный микроскоп начинает применяться в качестве инструмента для научных исследований. Так, в 1625 г. Франческо Стеллути сообщает в своей книге по микроскопии об использовании микроскопа Галилея в анатомической практике.

В Музее истории науки во Флоренции хранятся два микроскопа, изготовление которых приписывают Галилею. Предполагают, что оба они принадлежали "Академии зорких". Механические части обоих микроскопов выполнены из меди. В связи со сложностью и совершенством механических частей этих микроскопов некоторые исследователи считают, что они более позднего производства. Подтверждает это и большое их сходство с микроскопами Кампани, которые изготовлялись в 70-80-х годах XVII в.

Таким образом, первоначальным типом сложного микроскопа был двухлинзовый микроскоп, состоящий из двояковыпуклого объектива и двояковогнутого окуляра (микроскоп Галилея), а также микроскоп Дреббеля, состоящий из двояковыпуклого объектива и двояко- или плосковыпуклого окуляра. Последний тип микроскопа является родоначальником современных сложных микроскопов.

Рис. 3. Микроскоп Р. Гука (1663 г.)

До 60-х годов XVII в. микроскоп Дреббеля не претерпел каких-либо существенных изменений. Первые принципиальные изменения в конструкцию и оптическую схему этого микроскопа были внесены английским физиком Робертом Гуком около 1663 г. Отличительной особенностью микроскопа Гука (рис. 3) являлось введение третьей линзы, получившей в дальнейшем название полевой линзы, или коллектива. Последний располагался между линзами объектива и окуляра. Введение коллектива в микроскоп увеличивало его линейное поле. Микроскоп Гука приобрел большую популярность, и большинство микроскопов конца XVII и первой половины XVIII в. строились по этой схеме. Большое распространение получили микроскопы гуковского типа, изготовляемые сначала Джоном Маршаллом (около 1693 г.) и позднее Эдмундом Кульпепером (около 1730 г.). Увеличение этих микроскопов составляло от 40х до 140х. В 70-х годах XVIII в. микроскоп по схеме Гука комплектовался набором объективов с разными фокусными расстояниями, что позволяло менять увеличение микроскопа в нужных пределах. Сферическая и хроматическая аберрации в указанных микроскопах достигали значительной величины и вносили существенные искажения в изображения.

Оригинальную конструкцию микроскопа гуковского типа предложил в 1691 г. Бонани. Существенной особенностью его было горизонтальное расположение тубуса микроскопа и возможность рассматривать прозрачные объекты в проходящем свете.

Важное усовершенствование микроскопа Гука было сделано немецким оптиком Гертелем в 1716 г. Гертель ввел в конструкцию микроскопа вращающийся предметный столик и зеркало подсветки, помещенное под этим столиком. Это привело к значительному улучшению освещения объекта и, следовательно, к получению лучшего изображения при рассматривании прозрачных объектов в проходящем свете. Однако только в 30-х годах XVIII в. такие микроскопы получили широкое распространение. Дальнейшее улучшение качества изображения микроскопа нужно было искать в исправлении сферической и хроматической аберраций [11].

В 1784 г. петербургский академик Ф.Т.У. Эпинус на основе теоретических исследований Л. Эйлера рассчитал и изготовил первый в мире ахроматический микроскоп. Сообщение об этом изобретении было сделано Эпинусом на заседании Петербургской академии наук 8 апреля 1784 г. Более совершенная конструкция этого микроскопа была изготовлена уже после смерти Эпинуса, в 1808 г., немецким мастером-оптиком И.Г. Тидеманом в Штуттгарте. Этот уникальный инструмент, являющийся родоначальником ахроматических микроскопов, хранится в Политехническом музее в Москве.

В 1811 г. Фраунгофер выпустил свой ахроматический микроскоп, дающий увеличение до 120 раз. Разрешающая способность этого инструмента составляла около 3 мкм. Конструктивно объектив был выполнен из двух линз, разделенных небольшим воздушным промежутком.

Идея создания ахроматического объектива микроскопа из нескольких свинчивающихся линз принадлежит французскому оптику Селлингу, который в 1824 г. представил Парижской академии наук микроскоп с описанной выше конструкцией объектива, имеющей хорошую аберрационную коррекцию.

Итальянский физик Д.Б. Амичи в 1827 г. сконструировал горизонтальный ахроматический микроскоп. Сферическая аберрация в этом микроскопе была значительно ослаблена за счет того, что объектив был помещен здесь плоской поверхностью к объекту. Разрешающая способность микроскопа - 0,5 мкм. В середине 40-х годов XIX в. Амичи сконструировал иммерсионный объектив. Он помещал между покровным стеклом микроскопа и свободной поверхностью нижней линзы объектива жидкость (воду, глицерин, маковое масло). Благодаря этому удалось значительно ослабить отражение света с поверхности объектива. Применение иммерсионных объективов позволило увеличить разрешающую способность микроскопа почти в полтора раза.

С 1828 г. начинает выпускать свои микроскопы венский оптик Г.С. Плессль. Эти микроскопы имели две отличительные особенности: в качестве штатива использовалась складывающаяся тренога, а ахроматические объективы можно было свинчивать из отдельных ахроматических пар в произвольном порядке. Увеличение этих микроскопов достигало 1500 раз. Наряду с микроскопами Ч. Шевалье и Ф. Шика, микроскопы Плессля были лучшими микроскопами первой половины XIX в.

Почти одновременно с фирмой Г.С. Плессля в Берлине возникает фирма Ф. Шика и Л. Пистора, которая вскоре разделяется на две самостоятельные фирмы "Шик" и "Пистор". Характеризуя качество изготовляемых ими микроскопов, известный немецкий натуралист X.Г. Эренберг в 1832 г. писал: "Резкость и увеличение в микроскопах Шика превосходны. Лучшими современными микроскопами являются микроскопы Шевалье, Г.С. Плессля и Ф. Шика. Их преимущества основаны на применении открытия Селлинга" [12]. Увеличение микроскопов Шика достигает 2400 за счет двухлинзовых окуляров.

Основной задачей оптиков XVII-XVIII вв. было создание микроскопов с максимально большим увеличением. Известно, что увеличение микроскопа возрастает с уменьшением фокусного расстояния его объектива. По этой причине оптики XVII-XVIII вв. старались использовать в своих микроскопах короткофокусные объективы. Это порождало определенные трудности, связанные с тем, что в короткофокусных объективах аберрации достигали большой величины и с ними было трудно бороться. Если бы удалось устранить эти аберрации, то, по мнению микроскопистов начала XIX в., разрешающая способность микроскопа зависела бы только от его увеличения.

В 1829 г. английский физик Горинг предложил различать определяющую и проникающую разрешающую способность микроскопа. При этом, согласно Горингу, определяющая способность характеризовала возможность различать с помощью микроскопа внешние контуры объекта наблюдения, а проникающая способность - его "внутреннее" строение (прожилки на крыльях стрекоз, тончайший рисунок на крыльях бабочек и т.п.). Горинг считал, что проникающая способность существенно зависит от увеличения микроскопа.

Рис. 4. К определению отверстного угла

Для более ясного понимания тех представлений, которые Горинг вкладывал в термин "отверстный угол", приведем выдержку из книги, написанной его ближайшим сотрудником Причардом в 1842 г.:

"Пусть А и а (рис. 4) представляют два объекта, схожих во всех отношениях; возьмем два микроскопа равной увеличивающей силы, чтобы рассмотреть их. Предположим, что мы будем рассматривать небольшую часть поверхности А или а, которая имеет очень тонкое строение. По хорошо известному закону света, от данного участка во всех направлениях отходят лучи в виде прямых линий, как это изображено на рисунке. Предположим, что ВВ и bb два объектива равной фокусной длины; первый - простая линза лучшей конструкции, какие употреблялись в старых сложных микроскопах; вторая - система новейшей формы, оканчивающаяся ахроматической комбинацией. Эти объективы дадут соответствующие изображения в I и i, имеющие одинаковые размеры. Но если число лучей, исходящих из А, падающих на простую линзу ВВ и собирающихся в I, будет мало для достаточного раздражения глаза, какая-нибудь пора, полоска или другая подробность в А будет невидимой; в то же время, вследствие увеличения апертуры ахроматической линзы bb, больше света может упасть на нее, пройти и собраться в i, а поэтому та же подробность в а будет ясно представлена в i, и глаз, получивши сильное воздействие вследствие увеличения света, сделается в высокой степени чувствительным к ней. Углы ВАВ и bab представляют отверстные углы соответствующих объективов; количество света, собранное и переданное через их посредство, будет пропорционально квадратам ВВ и bb при равной фокусной длине. Таким образом, сила микроскопа или способность его делать видимой структуру объекта зависит от отверстного угла объектива, а не от одной увеличивающей силы" [13].
Горинг экспериментальным путем доказал, что проникающая способность микроскопа зависит от величины его апертуры. С этого момента фокусное расстояние объектива микроскопа и величина его апертуры стали считаться важнейшими показателями качества этого инструмента. Идеи Горинга оказали заметное влияние на конструкции микроскопов. Начиная с 30-х годов XIX в. намечается заметная тенденция к увеличению апертуры микроскопов. Так, английский оптик Росс изготовил в 1832 г. объектив микроскопа с апертурой в 14°; в 1834 г. апертура его объектива была уже 55°, а в 1842 г. - 74°. Вслед за ним итальянский оптик Амичи достиг в 1844 г. апертуры в 112°. К середине XIX в. американский оптик Спенсер получил рекордную апертуру объектива микроскопа - 172°. Однако объективы со столь большой апертурой имели значительные аберрации и по этой причине были непригодны для микроскопических наблюдений.

Приложение теории к объяснению образования изображения в микроскопе

В 1865 г. вышла в свет книга Негели и Швенденера "Микроскоп" [14], в которой авторы пытались применить законы геометрической оптики к конструированию микроскопа. В книге речь шла прежде всего об определении "проникающей" и "определяющей" способностях микроскопа, введенных Горингом. Согласно Негели и Швенденеру, стремление создать объективы с большими апертурами не было оправдано. Но на практике дело обстояло иначе: объективы с большой апертурой работали лучше, чем это должно было быть по теории Негели и Швенденера. Таким образом, одна геометрическая оптика не могла объяснить образование изображения в микроскопе. Именно теория Негели послужила исходным пунктом для работ Аббе и привела его впоследствии к замечательным открытиям.

В 1873 и 1874 гг. появились две работы, принадлежащие перу выдающихся немецких оптиков Аббе и Гельмгольца. Эти ученые пришли к выводу о недостаточности теории геометрической оптики для объяснения возникновения изображения в микроскопе и необходимости привлечения физической оптики для объяснения этого явления.

Толчком к исследованиям Гельмгольца послужила работа немецкого микроскописта Листинга [15] (1869 г.), в которой он предлагал конструкцию микроскопа, позволяющего, по его мнению, получать увеличение до 32000 раз и более. В связи с этим возник вопрос: можно ли сколько угодно повышать "мощность" микроскопа? Этот вопрос был поставлен Гельмгольцем в 1874 г. в его статье "Теоретическая граница способности микроскопа" [16]. Гельмгольц показал, что предел разрешающей способности микроскопа ограничивают два явления: 1 - уменьшение яркости изображения; 2 - явление дифракции. С ростом увеличения падает яркость изображения в микроскопе и возрастает дифракция. Оба эти явления наблюдаются в любом микроскопе. Это закон, справедливый для всех оптических систем.

Теория Аббе образования изображения в микроскопе

Свои исследования в области улучшения конструкции микроскопов Аббе опубликовал в 1873 г.[17]. Прежде всего Аббе показал, какую роль в образовании микроскопического изображения играют объектив и окуляр этого оптического инструмента. Далее Аббе дал классификацию аберраций, искажающих изображение при наблюдении через микроскоп. Однако самой большой заслугой Аббе было установление тех пределов, которые ставит перед конструкторами оптических систем волновая природа света.

К сожалению, Аббе не опубликовал большинство своих исследований, поэтому его работы по теории микроскопа дошли до нас в основном в изложении его учеников. Так, например, университетский курс "Теория оптических изображений в пределах геометрической оптики", который вел Аббе, был изложен его учеником С. Чапским в его "Теории оптических инструментов по Аббе" [18]. Работа Аббе "Теория дифракции в приложении к микроскопу" долгое время оставалась неопубликованной и только в начале XX в. увидела свет в пятитомном собрании сочинений Аббе.

Аббе удалось совершенно по-новому, с позиций волновой оптики, объяснить действие простой линзы. Он показал, что изображение предмета строится линзой сложным образом. Сначала в плоскости, перпендикулярной оси линзы, возникает интерференционная картина. При этом упомянутая плоскость играет роль своеобразной дифракционной решетки. Световой поток, проходящий от линзы через эту решетку, взаимодействует с решеткой и только после этого на небольшом расстоянии от плоскости решетки появляется изображение, которое можно увидеть на матовом стекле или сфотографировать. На языке математики вышеописанное называется фурье-преобразованием, то есть линза выполняет функцию фурье-преобразователя [19]. Но это построение изображения, созданного одной-единственной линзой, а как возникает изображение в микроскопе, который содержит много линз?

Согласно теории Аббе изображение в микроскопе получается двумя последовательными этапами:

1) образованием дифракционной картины в фокальной плоскости x' по методу Й. Фраунгофера (рис. 5);

2) образованием из отклоненных пучков оптического изображения А'' В" в сопряженной плоскости х".

В схеме, изображенной на рис. 5, в роли предмета АВ выступает длинная узкая щель, направленная вдоль оси у. По этой причине амплитуда в дифракционной картине, возникающей в плоскости x' будет изменяться только вдоль оси х.

Для отклоненных линзой лучей примем такие координаты x, h точки наблюдения р, чтобы x = kx' / f, где k = 2p / l;
x' = f sin q.

В этом случае интеграл Фурье будет иметь вид

Соответственно для распределения амплитуды в плоскости объекта будем иметь
В соответствии с рис. 5 распределение амплитуды в плоскости изображения А"В" обозначим через V"(х"). Если это изображение будет увеличено в М раз, то интеграл Фурье примет вид [19]
В реальной ситуации изображение в микроскопе образуется не всеми отклоненными пучками лучей, поэтому пределы интегрирования будут находиться в интервале x'1 - x'2 и синтез изображения будет осуществляться только за счет прошедших через объектив микроскопа пучков лучей. Самое главное, что в этом случае изображение уже не будет являться точной копией объекта (предмета) наблюдения. Это один из главных выводов теории образования изображения в микроскопе (по Аббе).

Согласно Аббе, разрешающая способность микроскопа заврхсит от его увеличения, величины числовой апертуры объектива и, наконец, от геометрического совершенства изображения (т.е. от степени исправления аберраций).

Произведение синуса половины апертуры объектива микроскопа (u на показатель преломления (n) среды, лежащей между объектом наблюдения и объективом, Аббе назвал "числовой апертурой" (А):

A = nsin(u/2).

Согласно теории Аббе, числовая апертура определяет ряд важнейших свойств микроскопа: яркость изображения, "проникающую" способность, "отображающую" способность (т.е. степень сходства изображения с предметом). Чем больше числовая апертура, тем более мелкие подробности объекта наблюдения можно рассмотреть в микроскоп.

Характеризуя роль творчества Аббе, академик Д.С. Рождественский писал:

"Аббе впервые ясно показал, что каждой остроте инструмента соответствует свой предел возможности. Нельзя грубыми пальцами обрабатывать даже мягкий материал с точностью до сотой миллиметра, для этого нужны тонкие инструменты. Тончайший же из всех инструментов - это длина волны. Нельзя видеть объекты меньше полудлины волны - утверждает дифракционная теория Аббе, - и нельзя получить изображение меньше полудлины волны, т.е. меньше 1/4 микрона... Таким образом, гением Аббе установлено сознательное творчество в микроскопии и достигнуты пределы возможного" [20].
Опыты Аббе, подтверждающие его теорию микроскопа, и критика ее современниками

Правильность своей теории образования изображения в микроскопе Аббе подтвердил проведенными им с этой целью опытами. Следует отметить, что все эти опыты Аббе проводил только с поглощающими решетками, используемыми им в качестве объектов наблюдения. Это было вполне логично, так как в качестве объектов для этих опытов могут служить только правильные геометрические структуры, способные давать четкие дифракционные картины. Естественные объекты, удовлетворяющие поставленным требованиям, встречаются редко. В первую очередь к ним относятся диатомовые водоросли.

Аббе показал, что действительное изображение предмета в передней фокальной плоскости окуляра микроскопа получается с помощью объектива, и при этом проходящий через конденсор и падающий на объект наблюдения свет разбивается на ряд дифракционных пучков - вследствие тонкой структуры объекта наблюдения. Эти пучки дают дифракционную картину в задней фокальной плоскости объектива. Эту картину можно наблюдать невооруженным глазом, если смотреть в микроскоп без окуляра.

Аббе показал, что изображение получается подобным во всех деталях предмету только тогда, когда проходящие через объектив микроскопа дифракционные пучки света будут иметь достаточную интенсивность. В случае если микроскоп имеет небольшую апертуру и поэтому не все дифракционные пучки попадают в него, то изображение получается не подобным предмету.

Экспериментальное подтверждение этого явления можно получить при помощи дифракционного прибора Аббе, cостоящего из пластинки, покрытой тонким слоем серебра, на которую нанесено несколько штрихов. Эти штрихи служат объектом при рассматривании в микроскоп. С помощью такого прибора можно очень наглядно показать, какое влияние имеет выпадение некоторых дифракционных пучков из изображения. Если, например, задиафрагмировать с каждой стороны один, три, пять и т.д. дифракционных пучков, то в изображении получим систему штрихов с вдвое меньшими промежутками. Тем самым в изображении, которое дает микроскоп, мы насчитаем вдвое больше штрихов, чем их имеется в предмете.

Опыты Аббе по теории вторичного изображения состояли в основном в последовательном изучении зависимости между первичным интерференционным изображением источника света и известной структурой объекта, а затем в исследовании зависимости вторичного интерференционного изображения от первичного.

При проведении своих опытов Аббе использовал микроскоп, объектив которого имел апертуру 0,17, а собственное увеличение 6-10 крат. Результаты проведенных опытов лучше всего передать словами самого Аббе:

"Различные структуры дают всегда одинаковое изображение в микроскопе, если искусственно устранены различия в дифракционном эффекте, вызываемом ими в микроскопе; ... структурный рисунок, появляющийся в поле зрения микроскопа, во всех подробностях как соответствующих объекту, так и не соответствующих ему, являются не .чем иным, как результатом интерференционного процесса, происходящего при встрече всех действующих пучков лучей" [21].
И далее:
"Ни в каком микроскопе не могут быть воспроизведены детали объекта (или признаки имеющейся в действительности структуры), если они расположены так близко друг к другу, что даже первый световой пучок, обусловленный дифракцией, не попадает в объектив одновременно с неотклоненным пучком" [22].
Строгую математическую теорию образования изображения в микроскопе Аббе читал в 1887 г. в Йенском университете. Эти лекции законспектировал Отто Луммер и впоследствии подготовил к печати совместно с Фрицем Рейхе. Они были изданы в 1910 г. под названием "Учение об образовании изображения в микроскопе по Аббе" [23].

Отто Луммер был блестящим физиком. Он внес существенный вклад в развитие теории теплового излучения, читал курс лекций по специальным проблемам оптики. Совместно с Герке Луммер ввел в технику спектроскопии плоскопараллельные стеклянные пластинки. Очень интересна оценка, которую дал Луммер лекциям Аббе:

"Аббе редко доводил до конца свой теоретический курс лекций. Тем больше была его радость на этот раз, когда он получил возможность ознакомить со своими теориями круг лиц, разбирающихся в этих вопросах. Кроме меня этот курс прослушали профессор Винкельман, доктор Чапский, доктор Рудольф и кандидат философии Штраубель, являющийся ныне преемником Аббе.

...Эта зима 1887 г. относится к лучшим моим воспоминаниям. Нам посчастливилось заглянуть в мастерскую умственного труда нашего величайшего мастера теоретической и практической физики и своими глазами наблюдать процесс его творческой деятельности. И хотя теория Аббе об образовании изображения в микроскопе была разработана еще задолго до этого времени и сделанные из нее выводы уже принесли свои плоды на заводе «Карл Цейсc», лекции на эту тему он начал читать, собственно, лишь в эти годы... Нелегко было следить за ходом рассуждений Аббе, часто он сам вносил поправки, отказываясь от приведенного им же доказательства и заменял его более простым и доступным. Но именно в этом и состояла привлекательность лекционного курса, которая еще больше повышалась благодаря дискуссиям во время воскресных прогулок по живописным окрестностям Йены. Существует ли дифракция в обратном направлении, т.е. может ли световой пучок, попадающий в очень узкую щель, отклониться обратно, в сторону источника света? Этот и подобный ему вопросы рьяно обсуждались... Рука об руку с чисто теоретическими лекциями шло ознакомление с практической оптикой и экспериментальными подтверждениями теории Аббе об образовании изображений от несамосветящихся объектов. Доктор Чапский знакомил нас с геометрической оптикой, теорией Аббе об ограничении пучков лучей в оптических приборах и с расчетом объективов по приближенным формулам Аббе. Аббе сам лично демонстрировал неподобие изображения микрообъектов при искусственном диафрагмировании. Это было великолепное время!" [24].

Из этих строк мы узнаем, что на лекциях Аббе, читанных им в зимний семестр 1887/88 г., присутствовали: доктор Винкельман - ординарный профессор физики Йенского университета, доктор Чапский - ученик и сподвижник Аббе, продолжатель его трудов; доктор Бёгехольд, создавший впоследствии (в 1938 г.) высококачественные планахроматические и планапохроматические объективы. Один из слушателей лекций Аббе, доктор Штраубель стал впоследствии преподавателем Йенского университета. Аббе назначил его своим преемником и соруководителем фирмы "Карл Цейсc".

Теория Аббе образования изображения в микроскопе была воспринята его современниками по-разному.

Первая критика теории Аббе появилась в 1880 г. и принадлежала довольно известному в то время гистологу Альтману [25]. Желая построить общую теорию оптических инструментов, Альтман пытался дать свое толкование разрешающей способности оптических приборов и выяснить вопрос о влиянии на нее аберраций и явления дифракции.

Альтман провел серию опытов с объективами микроскопов, обладающих разными оптическими характеристиками. В результате этих опытов он сделал вывод о том, что разрешающая способность объективов микроскопов определяется величиной дифракции, а сферическая и хроматическая аберрации сказываются только на резкости и ясности отдельных элементов микроскопического изображения.

Критически оценивая основные положения теории Аббе, Альтман писал: "Подробности, меньшие 0,01 мм, изображаются при помощи дифракционных пучков". По мнению Альтмана, качество микроскопического изображения зависело в основном от оптических свойств наблюдаемых в микроскоп объектов (показателей преломления их отдельных частей, различия в цветовой окраске, степени их прозрачности и т.п.).

Ответ Аббе Альтману не заставил себя долго ждать и был написан им в очень эмоциональной форме [26]. Он содержал в себе не только критику положений Альтмана, но и подробное разъяснение теории вторичного изображения в микроскопе. В полемике с Альтманом Аббе впервые дал понять, в чем состоит различие между изображениями самосветящихся и несамосветящихся объектов наблюдения.

Альтман не был удовлетворен ответом Аббе. В двух cвоих последующих статьях он отстаивал свою прежнюю точку зрения [27]. Но Аббе оставил эти статьи без внимания, полагая, видимо, что все и так ясно.

Однако на самом деле вопрос этот не был столь простым. В 1896 г. появилась работа лорда Рэлея "О теории оптических изображений, специально в приложении к микроскопу" [28]. Теория разрешающей способности оптических инструментов Рэлея базировалась на результатах работ английского астронома Г. Эри, который в первой половине XIX в. показал, что одиночная светящаяся точка (например, звезда) вследствие дифракции на границах зрачка изображается оптической системой в виде кружка рассеяния, состоящего из яркого ядра и окаймляющих его чередующихся темных и светлых колец. При этом освещенность светлых колец по мере удаления от центра существенно падает. Таким образом, оптическая система никогда не изображает точку в виде точки. С одной стороны, этому препятствуют аберрации оптической системы, а с другой - волновая природа света.

Осмысливая картину изображения двух близко расположенных точек, Д. Рэлей в 80-х годах XIX в. сделал вывод о том, что две равнояркие точки видны раздельно, если центр кружка Эри одной точки совпадает с первым минимумом второй точки. Этот вывод, известный как "критерий Рэлея", давал возможность установить числовое значение разрешающей способности любой оптической системы. Из него вытекало, что угловое расстояние между изображениями двух равноярких точек, которые видны раздельно (y). равно расстоянию от центра до первого максимума каждой точки: y = 1,22l/D где l - длина световой волны, D - диаметр входного зрачка.

С современной точки зрения, как метод Рэлея, так и метод Аббе - правильны и не исключают, а, скорее, дополняют друг друга. Сначала предполагали, что анализ Аббе применим только к освещенным объектам, или, по современной терминологии, к изображениям в когерентном свете. Рэлей же наглядно продемонстрировал, что он применим и к самосветящимся объектам (т.е. для изображений в некогерентном свете). Рэлей также установил, что пределы разрешения для когерентного и некогерентного случаев отличаются в два раза. Самое важное в работах Рэлея то, что он продемонстрировал применимость методологии Фурье для исследования качества оптического изображения.

Рассуждения Аббе о возможности повышения разрешающей способности микроскопа

Первый путь, которым пошел Аббе, стремясь повысить разрешающую способность микроскопа, состоял в увеличении его апертуры.

Аббе рассуждал следующим образом. Предел разрешения микроскопа d определяется формулой

d і 0,5l0 / n sin(u) = 0,5l0 / А,

где l0 - длина волны в вакууме; n - показатель преломления среды, находящейся между наблюдаемым предметом и объективом микроскопа; u - апертурный угол; А - числовая апертура объектива микроскопа.

Из формулы видно, что разрешающую способность микроскопа можно повысить за счет трех факторов: апертуры, показателя преломления и длины волны. Апертур-ный угол теоретически не может быть больше 180°. Практически же этот угол значительно меньше, так как невозможно поместить объект наблюдения на нулевом расстоянии от объектива. Кроме того, величина апертурного угла не ограничивается возможностью исправлять аберрации объективов с большими апертурными углами. Систематические упорные исследования Аббе в этом направлении очень скоро привели его к пределу на этом пути. Уже в 1873 г. он установил, что микроскоп в отношении величины апертурного угла настолько приблизился к достижимому пределу, что дальнейшие успехи на этом пути вряд ли были возможны.

В начале XX в. наметились некоторые сдвиги в решении этого вопроса. Для наблюдения частиц, размеры которых находятся за пределами разрешающей способности оптических микроскопов, австрийские физики Р. Зидентопф и Р. Зигмонди предложили в 1903 г. так называемый "метод темнового поля", состоящий в сильном боковом освещении объекта таким образом, чтобы ни один луч, идущий от осветительного устройства, не попал в глаз наблюдателя. При этом освещенное тело, рассеивающее свет, наблюдатель видит в виде ярких точек на темном фоне. Микроскоп, в котором был реализован указанный принцип, получил название ультрамикроскопа. На рис. 6 приведена схема щелевого ультрамикроскопа Зидентопфа и Зигмонди.

В 1913 г. в целях повышения апертуры обектива микроскопа, Зигмонди предложил конструкцию ультрамикроскопа, в котором осветительный и наблюдательный объективы касались друг друга. При этом наблюдения производились без кюветы, а раствор помещался непосредственно между объективами. В дальнейшем было обнаружено, что наблюдения по методу темнового поля можно проводить и с обычным микроскопом, снабженным специальным конденсором.

Для наблюдения по методу темнового поля непрозрачных объектов был сконструирован осветитель, состоящий из конденсора, кольцевого плоского и параболического зеркал, направляющих лучи на объект наблюдения под большими углами и позволяющий увидеть светлые частицы на темном фоне. Весьма удачная конструкция ультрамикроскопа была разработана в 50-х годах XX в. советскими физиками Б.В. Дерягиным и Г.Я. Власенко.

Метод ультрамикроскопии дал возможность увидеть коллоидные частицы диаметром менее 4x10-6 мм. С помощью этого метода были выявлены основные закономерности броуновского движения, а также исследован процесс поглощения света коллоидами в жидкости.

Следующая идея Аббе в изыскании средств повышения разрешающей способности микроскопа была связана с повышением показателя преломления (n) посредством применения иммерсионных объективов (пространство между наблюдаемым объектом и объективом заполнялось средой с более высоким показателем преломления, чем воздух). Однако для достижения желаемого результата объект наблюдения следовало также помещать в среду с более высоким показателем преломления. Последнее сильно ограничивало эффективность использования иммерсионного метода, так как часто не представляется возможным поместить наблюдаемый объект в среду с достаточно высоким показателем преломления без повреждения самого объекта.

Тем не менее во второй половине XIX в. появляется целый ряд иммерсионных систем объективов, в которых пространство между предметом и объективом заполнено средой с показателем преломления, существенно большим единицы. В 60-х годах XIX в. иммерсионные системы были созданы немецкими оптиками Гартнаком и Мерцем. Следуя идее итальянского оптика Амичи, они помещали между объективом и покровным стеклом микроскопа жидкость (воду, глицерин, маковое масло). В своих воспоминаниях Гартинг дает следующую характеристику первым иммерсионным системам:

"Гартнак в этой системе последовал примеру, данному Амичи в 1850 г., и поместил между покровным стеклом и свободной поверхностью нижней линзы тонкий слой воды... Так как вода сильнее преломляет, чем воздух, то благодаря этому значительно ослабляется, или даже совсем отпадает, отражение света с поверхности объектива. Поэтому в микроскоп попадает большее количество лучей, и, таким образом, тонкий слой воды производит то же самое действие, что и увеличение апертуры микроскопа. Это благоприятное действие сказывается преимущественно на краевых лучах, падающих наиболее косо... поэтому указанный слой должен повышать разрешающую способность микроскопа".
В 1878 г. Аббе совместно со Стефенсоном изготовили масляный иммерсионный объектив. Они назвали его объективом с гомогенной иммерсией. Этот объектив был рассчитан на применение кедрового масла и имел существенные преимущества перед объективом с водной иммерсией, созданным итальянским оптиком Амичи. 10 января 1879 г. на оптическом заводе в Йене Аббе сделал доклад о новом иммерсионном объективе и продемонстрировал его возможности.

Применяя иммерсионные системы, удалось достичь увеличения разрешающей способности микроскопа в 1,34 раза. О возможностях дальнейшего повышения разрешающей способности микроскопа Аббе говорил следующее:

"Можно предполагать, что техника со временем изыщет оптически годные для изготовления объективов среды, показатели преломления которых будут значительно больше, чем у известных нам теперь сортов стекла; что могут быть изысканы также и жидкости со значительно более высоким показателем преломления, чем у известных в настоящее время. Все это может сделать иммерсионный метод более эффективным" [29].
Исключительно интересны идеи Аббе, касающиеся повышения разрешающей способности микроскопа за счет уменьшения длины волны света, с помощью которого образуется изображение. Аббе писал:
"Тем самым остается возможность в расширении пределов разрешающей способности микроскопов. При наблюдении с помощью белого света в образовании видимого глазом изображения доминируют те лучи, которые обладают наибольшей интенсивностью в видимом спектре. Длина волны таких лучей, как правило, соответствует желто-зеленому цвету, т.е. может быть принята приблизительно равной 0,55 мкм. Более короткие волны, соответствующие синим лучам, позволяют вести наблюдение в монохроматическом свете с большим эффектом; полезность этого способа при наблюдении мельчайших деталей уже давно известна микроскопистам.

Еще благоприятнее становятся условия образования изображения при фотографической съемке объектов через микроскоп, так как при этом являются наиболее подходящими фиолетовые лучи с длиной волны, равной примерно 0,40 мкм. Многочисленными опытами установлено, что разрешающая сила объектива значительно выше в том случае, когда он используется для фотографии, по сравнению с тем случаем, когда оно применяется визуально. Фотографический снимок не только обнаруживает более тонкие детали, но и дает большую гарантию сходства изображения с материальным объектом, что является весьма ценным свойством микрофотографии для трудных условий наблюдения даже там, где речь идет не о пределе разрешения, а где подобие изображения объекту является в какой-то степени проблематичным.

Ничто не препятствует идти дальше в этом направлении и мыслить себе микроскопические наблюдения с помощью лучей, лежащих сколь угодно далеко за пределами видимого спектра в ультрафиолетовой области. Хотя получаемые в этом случае изображения наблюдать непосредственно невозможно, зато их можно сделать видимыми с помощью флюоресцирующих веществ. Оптика при этом должна располагать для изготовления объективов материалами, которые были бы по меньшей мере столь же прозрачны для ультрафиолетовых лучей, что и горный хрусталь, и не имели его других свойств, исключающих возможность использования его для этих целей; одновременно должны быть найдены среды для объектов и иммерсионные жидкости, прозрачные также и для ультрафиолетовых лучей. Это указание свидетельствует о том, насколько нужно оторваться от реального опыта, чтобы рассчитывать на существенные сдвиги в микроскопии с этой точки зрения" [30].

Эти идеи Аббе о возможности использования ультрафиолетовых лучей для повышения разрешающей способности микроскопов были реализованы в 1904 г. в конструкции микроскопа, созданного сотрудниками фирмы "Карл Цейсc"  Р. Келером и М. Рором. При разработке микроскопа, работающего в ультрафиолетовых лучах, конструкторы столкнулись с большими трудностями, связанными с изысканием оптических материалов, прозрачных в ультрафиолетовой области спектра, и созданием средств регистрации изображения в ультрафиолетовых лучах.

В качестве оптического материала линз для этих микроскопов оказались пригодными кварц и фтористый литий. Для регистрации изображения были использованы фотографические пластинки. В дальнейшем методы наблюдения микроскопических объектов в ультрафиолетовых лучах были развиты в работах английских физиков Д. Бернарда, Л. Мартина и советского ученого Е.М. Брумберга.

В 1939 г. Е.М. Брумберг предложил оригинальный метод цветной трансформации, который давал возможность преобразовывать невидимое глазом ультрафиолетовое изображение в видимое. Это видимое изображение возникало в условных цветах, которые характеризовали распределение различных веществ в исследуемом объекте.

Применение метода цветной трансформации потребовало создания новых ахроматических объективов, способных работать в ультрафиолетовой области спектра. Такие объективы, выполненные по схеме зеркально-линзовых систем, были созданы советскими оптиками С.А. Гершгориным, Е.М. Брумбергом и П.Д. Радченко.

Микроскоп, созданный по системе Брумберга, был использован в 40-х годах XX в. для проведения металлографических и минералографических исследований. В 1946 г. с помощью таких приборов проводились исследования абсорбционных характеристик биологических объектов. Особенно большое применение микроскопия в ультрафиолетовых лучах получила при исследовании аминокислот, входящих в состав всех белковых соединений. Большую помощь оказал этот метод наблюдений и при изучении состава молекул ДНК и РНК.

Возвращаясь к мыслям Аббе относительно расширения возможностей микроскопа как инструмента научного исследования, хочется вспомнить его слова, обращенные в будущее микроскопии:

"Современная наука, - писал Аббе, - признает, что возможности нашего органа зрения ограничены самой природой света и эта граница не может быть превзойдена с помощью всего арсенала современного естествознания... Возможно, что человеческому разуму удастся подчинить себе такие процессы и силы, которые позволят совершенно другими путями преодолеть препятствия, которые нам кажутся сейчас непреодолимыми. Эту надежду разделяю и я. Однако я верю, что те приборы, которые помогут нам в нашем познании последних элементов материального мира в большей степени, чем современные микроскопы, не будут иметь с последними ничего общего, кроме названия" [31].
Насколько пророческими оказались эти слова Аббе, мы поймем, обратившись к истории создания электронного микроскопа.

Рождение электронного микроскопа

Как мы уже говорили, нельзя увидеть объекты меньше полудлины волны света, а значит и нельзя получить изображения этих объектов меньше 1/4 микрона. Именно волновые свойства света определяют предел разрешения в микроскопе. Поэтому естественно было попытаться отказаться от фотонов и перейти к получению изображения с помощью потока электронов. Использование для этих целей электронов привело к возникновению в первой половине XX в. электронного микроскопа.

Успехи, достигнутые в начале XX в. в области теоретической физики, позволили сделать вывод о том, что распространение потока любых материальных частиц управляется волновыми законами, как это имеет место в случае светового потока. Согласно формуле, полученной Луи де Бройлем в 1923 г., l = h/mv, где l - длина волны излучения, m - масса частицы, v - скорость частицы, h - постоянная Планка.

Согласно этой формуле, длина волны уменьшается с увеличением массы и скорости движения частиц. Однако даже для частиц с наименьшей известной массой - электронов, движущихся с умеренной скоростью, соответствующая длина волны очень мала. По этой причине вполне естественным было использовать электроны для увеличения разрешающей способностью оптических приборов.

Установив, как зависит показатель преломления волн от свойств среды, т.е. силовых полей, в которых движется электрон, можно рассчитать его движение по законам геометрической оптики. С другой стороны, можно рассчитывать движение электрона по обычным законам механики, зная силы, действующие на электрон. Еще в 1830 г. на это обстоятельство обратил внимание В. Гамильтон. Он показал, что уравнениям механики можно придать вид, вполне аналогичный уравнениям геометрической оптики.

Способы расчета траекторий электронов в электромагнитных полях, используются ли методы механики или геометрической оптики, позволяют установить условия, при которых электроны, вышедшие из какого-либо источника, соберутся вновь в некоторой точке. Совокупность электрических и магнитных полей, в которых должен двигаться электрон, чтобы мы могли получить стигматическое изображение, представляет собой "электронные линзы" (магнитные и электростатические), играющие в электронной оптике такую же роль, как обычные линзы в геометрической оптике. По этим причинам расчет электронного микроскопа может быть выполнен по законам геометрической оптики.

В конце XIX в. была обнаружена возможность фокусировки электронных пучков с помощью электрических и магнитных полей. Существенным шагом на пути к созданию электронного микроскопа явилось появление в 1924-1927 гг. двух работ, принадлежащих перу французского физика Луи де Бройля и немецкого ученого Г. Буша. В первой из них было показано, что электроны имеют волновую природу, а согласно второй - любое неоднородное магнитное поле, имеющее вращательную симметрию, действует на электронные лучи так же, как на световые лучи действует оптическая линза. В 20-х годах XX в. появился термин "электронная оптика", введенный немецким физиком Э. Брюхе.

К началу 30-х годов XX в. немецкие ученые М. Кнолль и Э. Руска разработали магнитные линзы, а в 1931 - 1932 гг. при помощи магнитных и электростатических линз Кнолль, Руска и почти одновременно с ними Э. Брюхе и Г. Иохансон получают электронно-оптические изображения. Крупным вкладом в развитие электронной оптики было исследование А.А. Лебедева, выполненное в 1929 г., во время пребывания его в Англии. Им были показаны применимость и преимущества электромагнитной фокусировки при электронографировании [32]. Этот способ получения электронограмм в сходящемся электронном пучке получил название "дифракции по Лебедеву" [33].

Первые работы по электронной микроскопии в СССР были начаты в Государственном оптическом институте (ГОИ) в конце 1939 г. Вел их В.Н. Верцнер при содействии академика С.И. Вавилова. Примерно к этому времени за рубежом фирма "Сименс" приступила к выпуску промышленных образцов электронных микроскопов.

В 1940 г. в ГОИ был создан первый экспериментальный образец электронного микроскопа, дававший увеличение до 10000 крат и разрешение порядка 400 А. Начавшаяся Великая Отечественная война в значительной степени затормозила работы, но все же в 1942-1943 гг. в Йошкар-Ола, куда был эвакуирован ГОИ, удалось построить более совершенный макет электронного микроскопа с увеличением 20000 крат и разрешением 150 А [34]. В конце 1944 г. ГОИ было поручено создание небольшой серии электронных микроскопов с увеличением 25000 крат и разрешающей способностью в 100 А. В феврале 1946 г. была выпущена первая партия советских электронных микроскопов [35]. За их разработку А.А. Лебедеву, В.Н. Верцнеру и Н.Г. Зандину в 1947 г. была присуждена Государственная премия.

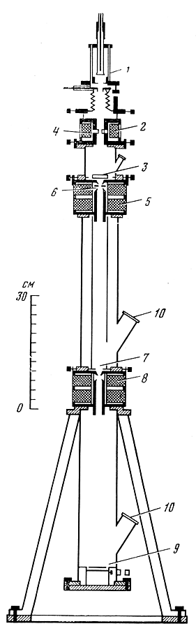
 Рис. 7. Принципиальная схема электронного микроскопа 

На рис. 7 изображена принципиальная схема магнитного электронного микроскопа ГОИ. Электронный пучок, вышедший из электронной пушки 1, концентрируется магнитной линзой 2 на предмете 3. Расходимость электронного пучка ограничивается диафрагмой 4. Электронная пушка вместе с конденсорной магнитной линзой и диафрагмой составляет осветительное устройство электронного микроскопа. Объектив электронного микроскопа образует линза 5 с апертурной диафрагмой 6. Для облегчения настройки прибора используется промежуточный экран 7. Изображение, порученное в плоскости промежуточного экрана, в свою очередь, является предметом для магнитной линзы 8, которая проектирует увеличенное изображение на экран 9. Это изображение может наблюдаться через стеклянные окна 10 в корпусе электронного микроскопа.

Минимальное фокусное расстояние объективной линзы равно 2 мм, а ее увеличение составляет 130 крат. Минимальное фокусное расстояние проекционной линзы равно 1 мм, при этом ее максимальное увеличение равно 200. Таким образом, результирующее увеличение электронного микроскопа равно произведению увеличений его объективной и проекционной линз и составляет 130Х200 = 26000 раз. Увеличенное во столько раз изображение рассматривается на блюдателем с помощью лупы, которая увеличивает его еще примерно в два раза. В результате общее увеличение электронного микроскопа ГОИ достигает 50000. Увеличение микроскопа можно при желании уменьшить, понизив ток в проекционной линзе. В результате этого ее фокусное расстояние возрастает, а увеличение уменьшается.

Рис. 8. Советские электронные микроскопы марки ГОИ:
слева - конструкция 1955 г.; справа - 1947 г.;
Политехнический музей. Москва

Общий вид электронного микроскопа ГОИ представлен на рис. 8. Один экземпляр этого микроскопа находится ныне в Отделе оптики Политехнического музея. Микроскоп имеет вид металлической колонны, укрепленной на специальном стенде. Внутри колонны размещены основые узлы микроскопа. В нижнюю часть вмонтированы экран и специальная кассета для фотопластинок. К основанию колонны присоединен диффузионный масляный насос.

Необходимый для работы вакуум создается отдельным ротационно-масляным насосом. К микроскопу подводится анодное напряжение 50 киловольт. Все магнитные линзы питаются от аккумуляторов, которые обеспечивают необходимое постоянство тока. Система питания электронного микроскопа размещается в отдельном металлическом шкафу, на передней панели которого расположены измерительные приборы.

Промышленное освоение электронных микроскопов системы ГОИ началось в 1947 г., а в 1949 г. было начато серийное промышленное производство более совершенной конструкции электронного микроскопа ЭМ-3 [36].

Как и предполагал Аббе, электронный микроскоп внешне совершенно не был похож на обычный оптический микроскоп и не имел с последним ничего общего, кроме названия. На прогресс электронной оптики существенное влияние оказало то обстоятельство, что к моменту ее появления была достаточно хорошо развита теория обычных оптических систем, основанная на геометрической оптике. Немаловажное значение сыграли электроника и вакуумная техника. В конце 70-х годов XX в. появились электронные микроскопы, позволяющие рассмотреть отдельные атомы.

От Аббе до Габора

Вряд ли кто из читателей будет спорить с тем, что одним из самых замечательных открытий нашего столетия является голография. Однако мало кому известно, что история голографии начинается с работ Аббе.

Подавляющее число оптических приборов имеет дело изображениями, полученными в результате регистрации распределения только интенсивности света в некоторой плоскости. Между тем довольно часто ценность представляет вся информация об объекте, а в ряде случаев - преимущественно фазовая, спектральная и поляризационная информация. Получить такую информацию позволила голография, появление которой сильно изменило представления об изображении объекта.

Возможности, предпосылки для получения голографических изображений существовали еще в XVII в. Именно тогда Христиан Гюйгенс высказал гипотезу о волновой природе света и предложил свой знаменитый принцип, согласно которому световые пучки, встречаясь, не влияют друг на друга. Каждый пучок распространяется независимо и если пучки встречаются в одной точке, то их действие суммируется [37].

Волновые свойства света, лежащие в основе голографии, были изучены и наглядно продемонстрированы Томасом Юнгом в 1801 г., т.е. спустя более ста лет после Гюйгенса. Эксперимент, демонстрирующий интерференцию света, проведенный Юнгом, показал, что при наложении световых волн может образоваться темнота [38]. Полагая, что монохроматический свет представляет собой регулярные синусоидальные колебания, Юнг внес существенный вклад в развитие волновой теории Гюйгенса. Согласно Юнгу, повышение яркости света происходит тогда, когда наблюдается сложение гребня одной волны с гребнем другой. Если же происходит сложение гребня со впадиной, то наблюдается ослабление яркости. Свет, способный интерферировать, называют когерентным. Следует отметить, что впервые наиболее отчетливо явление интерференции света наблюдал в 1816 г. Ж.О. Френель [39]. Им было найдено условие возникновения максимумов и минимумов света.

Так как принцип интерференции световых волн лежит в основе голографии, то ее открытие могло быть сделано еще Юнгом или Френелем. Они, собственно говоря, уже заложили теоретические основы голографии. Оставалось лишь проанализировать полученные результаты.

Впервые идея двуступенчатого преобразования изображения применительно к микроскопу была высказана Аббе еще в 1873 г.40 Согласно теории Аббе, изображение в микроскопе получается двумя последовательными этапами:

1 - вначале образование дифракционной картины в фокальной плоскости по способу Й. Фраунгофера;

2 - образование из отклоненных пучков оптического изображения в сопряженной плоскости.

Следующий шаг на пути к голографии сделал сотрудник Кэвендишской лаборатории У. Л. Брэгг в 1939-1942 гг. Он провел анализ кристаллической решетки < помощью дифракции пучка рентгеновских лучей [41]. При этом ему удалось осуществить преобразование дифракционного изображения кристалла одного из минералов в приближенное оптическое изображение структуры его кристаллической решетки. Фаза волны рентгеновского излучения им не регистрировалась.

Учесть информацию о фазе волны удалось голландскому физику Ф. Цернике. В 1934 г. он поставил перед собой задачу: изыскать метод, позволяющий улучшить контрастность изображения прозрачных объектов при наблюдении их в микроскоп. Цернике рассуждал следующим образом: так как, согласно Аббе, изображение в поле зрения микроскопа образуется в результате интерференции рассеянных и невозмущенных лучей, то в зависимости от величины разности фаз они могут взаимно усиливать или ослаблять друг друга и, таким образом, давать большую или меньшую освещенность в поле зрения [42].

В 1927 г. Д. Габор, только что окончивший Высшее техническое училище в Берлине, поступил на службу в лабораторию фирмы "Сименс", производившей электронную технику. Работая над катодной системой электроннолучевой трубки, он изобрел магнитную линзу. При этом Габор почти вплотную подошел к изобретению электронного микроскопа, появившегося после работ немецкого физика Буша и его ученика Вольфа.

И двадцать лет спустя, в 1947 г., Габора не покидала мысль об улучшении работы электронного микроскопа. Вспоминая события 1947 г., Габор писал:

"В то время я очень интересовался электронным микроскопом. Это был удивительный прибор, который давал разрешение в сто раз лучше, чем оптический микроскоп, и тем не менее не оправдывал надежд на то, что будут видны атомы кристаллической решетки... Электронная оптика оказалась довольно несовершенной. Наилучшая электронная линза, которая могла быть изготовлена, по оптическим характеристикам была сравнима с дождевой каплей, а не c объективом оптического микроскопа и, как показал Шерцер в своей теоретической работе, никогда не могла быть усовершенствована. Теоретический предел разрешающей способности электронного микроскопа оценивался в то зремя в 4 А, что было в два раза хуже величины, требуемой для того, чтобы увидеть атомы кристаллической решетки; на практике же достижимый предел не превышал 12 А. Эти пределы разрешающей способности электронного микроскопа вытекали из необходимости ограничивать угловую апертуру электронной линзы до нескольких миллирадиан. При такой апертуре сферические аберрации равнялись дифракционному пределу разрешения. Увеличение апертуры вдвое приводило к уменьшению дифракционного предела в два раза, но при этом сферические аберрации возрастали в 8 раз. Регистрируемое в этих условиях изображение получалось безнадежно размытым. После длительного размышления над этой проблемой я в один из прекрасных весенних дней 1947 г. неожиданно нашел ее решение..." [43].
Таким образом, работая над усовершенствованием электронного микроскопа, Д. Габор в 1947 г. столкнулся с необходимостью улучшить качество изображения, которое сильно искажалось сферической аберрацией электронных линз. Причем, если сферическая аберрация обычных линз исправлялась достаточно легко, то в случае электронной оптики, при ее исправлении возникали принципиальные трудности. Для того чтобы их преодолеть, Габор предложил построить точную модель поля электронных волн в оптическом диапазоне спектра, а затем исправить у этой модели сферическую аберрацию методами обычной световой оптики. В процессе реализации этой. в общем весьма частной, задачи и была изобретена голография.

Рис. 9. Схема получения (вверху) и восстановления (внизу)
голограмм по методу Д. Габора (слева) и Ю.Н. Денисюка (справа)

Ход мыслей Габора был весьма прост. На объект О (рис. 9) падает излучение от источника S. За объектом располагается фотопластинка F, регистрирующая результат сложения излучения, рассеянного объектом, и излучения, которое падает на фотопластинку, минуя объект. В результате сложения этих полей возникает картина интерференции, т.е. появляются темные и светлые полосы. При этом, в соответствии со смыслом понятия "интерференция" светлые полосы располагаются там, где фазы волн источника S и объекта совпадают, а темные - там, где они отличаются. Предположим, что фотопластинка зафиксировала интерференционную картину таким образом, что коэффициент пропускания полученной голограммы пропорционален интенсивности воздействовавшего на фотопластинку света.

Направим на полученную таким образом голограмму излучение того же монохроматического источника S. Очевидно, что голограмма пропустит свет только в тех местах, где располагались максимумы интерференционной картины, т.е. там, где фазы волн объекта и источника S совпадали. Очевидно, что в этих условиях голограмма "выберет" на поверхности фронта волны источника S те места, и пропустит только те участки, фаза которых совпадает с фазой волны объекта. Таким, образом приблизительно на половине площади голограммы будет воспроизведена волна от объекта. То, что голограмма не воспроизводит поле объекта на месте темных полос картины интерференции, приводит к некоторой неоднозначности воспроизведения фазы, в результате которой появляется ложное изображение объекта. Оба изображения - истинное и ложное - будут сильно искажены.

В силу этих обстоятельств о возможности использования голограммного метода в изобразительной технике в то время даже не упоминалось - метод развивался исключительно в применении к задачам электронно-структурного и рентгеноструктурного анализа.

Габор рассуждал следующим образом:

"Если исходить из принципа Гюйгенса, пучок лучей должен содержать всю необходимую информацию. Что мешает нам ее «расшифровать»? Очевидно, то, что мы регистрируем на пластинке только половину информации: мы пренебрегаем фазой волны. Нельзя ли выявить ее с помощью интерференции, налагая «когерентный фон»? Немного математики и несколько опытов позволили быстро проверить идею о «восстановлении волны». Достаточно было осуществить суперпозицию комплексной волны, приходящей от объекта с простой волной (плоской или сферической), сделать фотографию, а затем, осветив ее простой волной, восстановить исходную волну. Возникшее при этом изображение объекта было трехмерным" [44].
За это открытие профессору Дэнису Габору в ноябре 1971 г. была присуждена Нобелевская премия по физике.

Первое практическое применение голография нашла в электронной микроскопии. В 1950 г. под руководством Габора и Эллибона в научно-исследовательской лаборатории фирмы "Associated Electrical Industries" разработали голографический электронный микроскоп [45].

Совершенно самостоятельным путем к идее голографии пришел в конце 50-х годов нашего столетия советский физик Ю.Н. Денисюк. Его внимание привлекли опыты Аббе по дифракционной картине изображения в микроскопе и опыты Френеля. У ученого возникло желание получить, используя явления дифракции, наиболее полную информацию об объекте и эту информацию зарегистрировать. Он рассуждал так:

"Принципиальная возможность, судя по всему, есть. Ведь изображение - это не что иное, как особым образом организованное волновое поле. Только поэтому мы и видим изображение. Ведь в глаз попадает не предмет, а те волны, которые отразились от него. По сути дела, мы получаем информацию о том, как провзаимодействовало с веществом предмета некое первичное фотонное поле. Оно рассказывает об истории своего соприкосновения с поверхностью и даже более глубокими слоями предмета. Только поэтому лист в наших глазах зелен, а асфальт сер. Значит, в первую очередь требуется в точности воссоздать волновое поле излучения, рассеянное предметом, - результат встречи «предмет - поле». И тогда мы увидим реальный предмет, хотя никакого предмета на самом деле не будет. А чтобы реализовать идею технически, нужно запомнить поле, записать его, после чего восстановить" [46].
В 1958-1963 гг. Ю.Н. Денисюк провел исследования [47], основным результатом которых было обнаружение так называемого "явления отображения оптических свойств объекта в волновом поле рассеянного им излучения". Сущность этого явления заключалась в том, что трехмерная фотографическая модель картины стоячих волн, возникающих при рассеянии излучения на произвольном объекте, представляла собой своего рода оптический эквивалент этого объекта. Если теперь на такую "волновую фотографию" направить излучение источника с белым спектром, то она отразит это излучение так, что возникнет цветное неискаженное пространственное изображение объекта, картина стоячих волн которого была зарегистрирована фотографией.

Схематически это можно представить себе так (рис. 9) Здесь фотопластинка V устанавливается перед объектом со стороны источника S. После экспозиции и проявления в эмульсионном слое фотопластинки образуется трехмерная слоистая структура (d1 d2, d3), моделирующая пространственное распределение интенсивности в стоячей волне, образованной в результате наложения рассеянного объектом О излучения и излучения источника S. Такая структура, подобно интерференционному фильтру, обладает спектральной селективностью и поэтому допускает реконструкцию с помощью обычного источника со сплошным спектром, например лампы накаливания. Механизм действия такой голограммы в общих чертах заключается в следующем. Поверхность пучностей данной стоячей волны есть геометрическое место точек, в которых фаза излучения источника совпадает с фазой излучения, рассеянного объектом. Очевидно, что если на зарегистрированную голограммой поверхность пучностей направить излучение от источника, то фаза отраженной волны совпадет с фазой излучения, рассеянного объектом. Амплитуда в этом случае также восстанавливается, поскольку коэффициент отражения рассматриваемого слоя пропорционален амплитуде излучения, рассеянного объектом. Каждую зарегистрированную трехмерной голограммой поверхность стоячей волны можно представить как зеркало сложной формы, которое преобразует сферическую волну от источника в волну, полностью идентичную волне излучения, рассеянного объектом.

Таким образом, трехмерные голограммы, записанные по методу Денисюка, допуская реконструкцию белым светом, воспроизводят при этом все наиболее существенные характеристики волнового поля: амплитуду, фазу и спектральный состав. Ложное изображение при этом отсутствует.

В 1962 г. Денисюку удалось обнаружить, что сама трехмерная голограмма в действительности представляет cобой лишь только частный случай регистрации гораздо более общего явления. Оказалось, что более полный комплекс отображающих свойств заключен в объемной картине интерференции - так называемой стоячей волне. Трехмерная материальная модель такой волны однозначно воспроизводит амплитуду, фазу и спектральный состав записанного на ней излучения. В дальнейшем было показано, что отображающими свойствами обладают не только стоячие, но и бегущие волны интенсивности, которые образуются в том случае, когда частоты объектной и референтной волн различны.

К настоящему времени голография сформировалась в самостоятельное научное направление, имеющее большое число самых разнообразных практических приложений и оказывающее существенное влияние на развитие науки и техники [48].

Развитие теории Аббе русскими и советскими учеными

Работы Аббе по теории образования изображения в микроскопе вызвали живейший интерес его современников. Эти работы еще долгое время продолжали оставаться в центре внимания оптиков всех стран мира. Объясняется это прежде всего тем, что именно Аббе поставил резкую границу между изображениями в микроскопе прозрачных и непрозрачных ("самосветящихся" и "несамосветящихся") объектов. Кроме того, им был намечен теоретический предел возможностей оптических инструментов, определяемый волновой природой света. Этот предел был достигнут впоследствии фирмой "Карл Цейсc".

Вместе с тем теории Аббе были присущи и некоторые недостатки. Например, он придавал преувеличенное значение "первичным спектрам". Исправлять недостатки Аббе предоставил потомкам.

Первое такое исправление, а точнее - дополнение, было сделано Рэлеем в девяностых годах прошлого века в его замечательной статье "О теории оптических изображений", в особенности в приложении к микроскопу [49]. В ней он восстановил в своих правах принцип Гюйгенса и чисто математическим путем показал, что метод "первичных изображений" Аббе дает в принципе то же самое, что и обычное применение принципа Гюйгенса.

Дальнейшее развитие теория Аббе получила в работах замечательного советского физика Л.И. Мандельштама В своей работе "К теории микроскопического изображения Аббе", опубликованной в 1911 г. [50], он теоретически доказал и экспериментально подтвердил правильность принципа Гюйгенса в применении его к изображению в микроскопе. Мандельштам показал, что изображение самосветящегося объекта имеет те же свойства, что и изображение объекта, когерентно освещенного.

В резюме своей статьи Мандельштам писал:

"Случай самосветящегося и несамосветящегося объекта можно трактовать единообразно... Между изложенными соображениями и рассмотрением Аббе нет никакого противоречия. В зависимости от обстоятельств может оказаться более удобным либо тот, либо другой способ. С помощью единообразного метода рассмотрения выше было показано, что в общем случае не слишком тонких структур самосветящийся объект ведет себя так же, как несамосветящийся, равномерно освещенный со всех сторон. Этот результат позволяет применять теорию Аббе и в специальных случаях изображения самосветящихся объектов" [51].
В среде оптиков и микроскопистов работа Мандельштама в свое время произвела сенсацию и вызвала оживленную полемику [52]. Дальнейшее углубление теория образования изображения в микроскопе получила в работах крупнейшего советского оптика академика Д.С. Рождественского. В 1940 г. им были опубликованы две статьи: "К вопросу об изображении прозрачных объектов в микроскопе" [53] и "Когерентность лучей при образовании изображения в микроскопе" [54]. Рождественский писал:
"При проведении некоторых микроскопических работ мне стало ясно, что наше умение микроскопировать, умение пользоваться весьма совершенными микроскопами не стоит на большой высоте, в очень многих сложных случаях мы не знаем, что мы видим, и еще чаще, как мы видим. Это относится к видению не только прозрачных, но и непрозрачных объектов" [55].
В первой своей работе Рождественский пытается объяснить механизм образования интерференционных полос, окаймляющих изображение в микроскопе:
"Процессы изображения непрозрачных и прозрачных объектов в микроскопии отличаются тем, - пишет он, - что у прозрачных объектов явление интерференции окружает изображение объекта резкими полосами. Это обстоятельство вообще сильно мешает наблюдению в микроскоп. Замечательно, что, несмотря на всю простоту и очевидность указанного явления интерференции, оно, по-видимому, до сих пор не было правильно истолковано ни теоретиками, ни практиками микроскопии. Это показывает, что до сих пор никто не приступал к теории изображения прозрачного объекта в микроскопии, так как нельзя коснуться этого вопроса, не задевая явления, которое играет в нем основную отрицательную роль. ...Трудно поверить, что явление, наблюдавшееся в течение двухсот лет и притом весьма простое, до сих пор не нашло правильного объяснения. Нужно думать, что при тщательных поисках можно найти ответ в области этой проблемы. Однако ни один курс микроскопии, ни одно практическое руководство до сих пор не помогает микроскописту объяснением происхождения этой любопытной системы интерференционных полос, и в большинстве случаев они упорно именуются дифракционными" [56].
Рождественский рассматривает ряд чаще всего встречающихся на практике случаев микроскопических наблюдений и делает вывод о том, что появление интерференционных полос, окаймляющих контуры микроскопического изображения, может привести к существенному изменению вида объекта и привести наблюдателя к ложным выводам.

Во второй своей статье "Когерентность лучей при образовании изображений в микроскопе" Рождественский дает строгое определение понятия когерентного освещения и рассматривает вопрос о переходе от когерентного освещения к некогерентному. Он пишет:

"Опыты Аббе нужно направить не только на то, чтобы в частном случае наглядно доказать влияние широкой апертуры (микроскопа. - В.Г.), но и на то, чтобы утвердить близкую, аналогию между действием когерентных и некогерентных лучей..." [57].
Мы видели, что значение когерентного и некогерентного осйещения в микроскопе было показано в работе Л.И. Мандельштама. Д.С. Рождественский дал более целесообразное выражение полученной Мандельштамом формулы интенсивности освещения объекта и установил понятие об относительной некогерентности освещения, выражаемой отношением апертур освещающих лучей и объектива микроскопа. Найденному Мандельштамом параллелизму между демонстрационными опытами Аббе с некогерентным освещением и этими же опытами, распространенными на самосветящиеся объекты, Д.С. Рождественский дал простое и естественное толкование.

ЛИТЕРАТУРА

1 Clay R.S., Court T.H. The history of the microscope. L., 1932; Bradbury S. The evolution of the microscope. Oxford, 1967.

2 Kircher A. Ars magna lucis et umbrae. Roma, 1646.

3 Borellus P. De vero Telescopii inventory cum brevi omnium conspiciliorum historia... Accesit etiam Centuria observationum microscopicarum. The Hague, 1655, p. 34.

4 Harting P. Das Mikroscop: Theorie. Gebrauch, Geschichte und gegenwartiger Zustand derselben. Braunschweig, 1859.

5 Вавилов С.И. Собр. соч. М.: Изд-во АН СССР, 1956, т. III, с. 261.

6 Galilei G. Il Saggiaiore. - Ed. Naz., 1902, vol. VI, pars. 1, p. 263.

7 Цит. по кн.: Вавилов С. И. Собр. соч., т. III, с. 262-263.

8 Там же, с. 263.

9 Там же.

10 Там же, с. 264.

11 Сферическая аберрация - один из видов ошибок оптических систем. При наличии сферической аберрации параллельный пучок лучей, падающих на линзу, после прохождения через нее пересекает оптическую ось в разных точках, не собираясь в фокусе линзы. При наличии хроматической аберрации луч белого света после прохождения через линзу распадается на ряд лучей разных цветов, которые пересекают оптическую ось в различных точках, не собираясь в фокусе линзы.

12 Poggendorffs Annalen, Leipzig, 1832, Bd. 24, S. 188.

13 Цит. по кн.: Карпов В. Очерк общей теории микроскопа в ее историческом развитии. М., 1907, с. 10-11.

14 Nageli, Schwendener. Das Mikroskop: Theorie und Anwendung desselben. Leipzig, 1865.

15 Listing. Vorschlag zur fernerer Vervollkommung des Mikroskops auf einem abgeanderten dioptrischen Wege. - Poggendorffs Annalen, 1869, vol. 136.

16 Helmholtz G. Die theoretische Grenze fur die Leistungsfahigkeit der Mikroskope. - Poggendorffs Annalen, 1874, Jubelband.

17 Abbe E. Beitrage zur Theorie des Mikroscops und der mikroskopischen Wahrenehmung. - Arch. Mikrosk. und Anat., Jena, 1873, Bd. 9.

18 Capskii S. Theorie der optischen Instrumente nach Abbe. Jena, 1893.

19  Пекара А. Новый облик оптики: Введение в квантовую электронику и нелинейную оптику. М.: Сов. радио, 1973, с. 230-233.

20 Рождественский Д.С. Избр. тр. М.; Л.: Наука, 1964, с. 331.

21 Abbe Е. Gesammelte Abhandlungen. Jena, 1902, Bd. I, S. 82-83.

22 Ibid., S. 87.

23 Lummer O., Reiche F. Die Lehre von der Bildenstehung im Mikroskop von Ernst Abbe. Braunschweig: Vieweg-Verlag, 1910.

24 Цит. по журн.: Йенское обозрение, 1966, № 3, с. 18.

25 Altmann. Zur Theorie der Bilderzeugung. -Arch. Anat. und physiol. Anat. Abh., 1880; Altmann. Ober die Vorbemerkungen des H. Prof. Abbe. - Arch. Anat., 1880.

26 Abbe E. Uber die Grenzen der geometrischen Optik / Mit Vorbemerkungen iiber die Abhandlung von Altmann. - S. - Ber. Jenaisch. Ges. Med. und Naturwiss., 1880.

27 Altmann. Uber die Vorbemerkungen des H. Prof. Abbe. - Arch. Anat, 1880.

28 Lord Rayleigh. On the theory of optical images with special reference to the microscope. - Phil. Mag. Ser. V, 1896, vol. 42.

29 Abbe E. Gesammelte Abhandlungen, Bd. I, S. 149.

30 Ibid., S. 151.

31 Ibid., S. 149-152.

32 Nature, 1931, №128, p. 491.

33 Марк Г., Вирль Р. Дифракция электронов. М.; Л., ГТТИ, 1933.

34 Природа, 1941, № 4, с. 72.

35 Опт. -мех. пром-сть, 1946, № 5/6, с. 3.

36 Верцнер В. Н. Электронная микроскопия и новые методы исследования микроструктур. М.; Л.: Машгиз, 1956, с. 117.

37 Гюйгенс X. Трактат о свете. М.; Л.: Гостехиздат, 1935.

38 Young Т. On the theory of light and colours. - In: A course of lectures on natural philosophy and the mechanical Arts. L., vol. II. 1807.

39 Френель О. Избр. тр. по оптике. М.: Гостехиздат, 1955.

40 Abbe E. Gesammelte Abhandlungen, Bd. I.

41 Nature, 1939, №143, p. 678; 1942, №149, p. 470; 1950, №166, p. 399.

42 Zernicke F. Das Phasenkontrastverfahren bei der mikroskopischen Beobachtung. - Ztschr. techn. Phys., 1935, Bd. 16, S. 454-455.

43 Габор Д. Голография (1948-1971 гг.). - УФН, 1973, т. 109, вып. 1, сб.

44 Габор Д. Предисловие. - В кн.: Вьено Ж., Смигильский П., Руайе А. Оптическая голография: Развитие и применение. М., Мир, 1973, с. 7.

45 Gabor D. Microscopy by reconstructed wavefronts. - Proc. Roy. Soc, 1951, vol. B64, p. 449.

46 Цит. по кн.: Демидов В.Е. Пойманное пространство. М.: Знание, 1982, с. 141.

47 Денисюк Ю. Н. Об отображении оптических свойств объекта в волновом поле рассеянного им излучении. - ДАН СССР, 1962. т. 144, № 6, с. 1275-1278; Денисюк Ю. Н., Протас И. Р. Усовершенствованные липпмановские фотографические пластинки для регистрации стоячих световых волн. - Оптика и спектроскопия, 1963, т. 14, вып. 5, с. 759; Денисюк Ю. Н. Об отображении оптических свойств объекта в волновом поле рассеянного им излучения. - Оптика и спектроскопия, 1963, т. 15, вып. 4, с. 522- 532; 1965, т. 18, вып. 2, с. 275-282.

48 Денисюк Ю. Н., Гуриков В. А. Развитие голографии как нового научного направления. - Природа, 1984, № 5.

49 Sci. Pap., 1896, pap. IV, p. 235.

50 Ann. Phys., 1911, vol. 35, p. 881-897.

51 Мандельштам Л. И. Полн. собр. тр. М.: Изд-во АН СССР, 1948, т. 1, с. 224-225.

52 Там же, с. 226-228.

53 Рождественский Д.С. К вопросу об изображении прозрачных объектов в микроскопе. - Тр. ГОИ, 1940, т. 14, с. 16-40.

54 Рождественский Д.С. Когерентность лучей при образовании изображения в микроскопе. - ЖЭТФ, 1940, вып. 10, с. 305-330.

55 Рождественский Д. С. Собр. тр. М.; Л.: Изд-во АН СССР, 1949, с. 478.

56 Там же, с. 477-478.

57 Рождественский Д. С. Избр. тр. М.; Л.: Изд-во АН СССР, 1964, с. 224.
 


Введение
Глава I. Жизненный путь Эрнста Аббе
Глава II. Развитие Аббе теории образования изображения в микроскопе
Глава III. Исследования Аббе в области прикладной оптики
Глава IV. Оптические измерительные инструменты Э.Аббе
Глава V. Социально-политическая и общественная деятельность Э. Аббе
Заключение
Приложения

VIVOS VOCO!   -  ЗОВУ ЖИВЫХ!