ВЕСТНИК РОССИЙСКОЙ АКАДЕМИИ НАУК

том 73, № 8, с. 744-748 (2003)

В 2002 г. исполнилось 400 лет со дня рождения изобретателя вакуумного насоса Отто фон Герике. Эксперименты с "пустотой", проведенные им в середине XVII в., явились важным этапом формирования науки той эпохи. Последующее совершенствование и использование средств получения вакуума способствовали тому, что физик Дж.Дж. Томсон позже назвал "коренным изменением наших представлений о строении материи". Публикуемый ниже очерк посвящен развитию представлений о пустоте и истории изобретения воздушного насоса.

© В.П. Борисов

ИЗОБРЕТЕНИЕ, ДАВШЕЕ ДОРОГУ ОТКРЫТИЯМ

В.П. Борисов

Борисов Василий Петрович - кандидат технических наук,
руководитель проблемной группы
Института истории естествознания и техники им. С.И. Вавилова РАН.

Когда Отто Герике, пробуя различные варианты, искал способ удаления воздуха из откачиваемого объема, технические проблемы были не единственной трудностью в реализации идей 50-летнего бургомистра города Магдебурга. Непросто было преодолеть и подспудное давление накапливавшихся столетиями религиозно-схоластических догм и предубеждений, связанных с представлениями о "пустоте".

Природа не терпит пустоты? Споры о возможности существования пустоты, или вакуума, велись, по крайней мере, со времен древнегреческой натурфилософии. Согласно представлениям первых атомистов, Левкиппа (около 500 г. до н.э.) и Демокрита (около 460-370 гг. до н.э.), вселенная состоит из пустого пространства и бесконечного множества неделимых мельчайших частиц - атомов. "Начала - атомы и пустота, все же остальное существует лишь в мнении..." [1]. Важное место пустоте отводится в учении Эпикура (341-270 гг. до н.э.). В философской поэме Лукреция (около 99-55 гг. до н.э.) "О природе вещей" об этом говорится так:
 

"Если ж пространства иль места, что мы пустотой называем,
Не было б вовсе, тела не могли бы нигде находиться
И не могли б никуда и двигаться также различно"
[2].

Умозрительный характер рассуждений не мешал древним атомистам приходить иногда к точным физическим выводам. В той же поэме Лукреция можно найти, например, утверждение, что разница в тяжести при свободном падении тел имеет значение лишь в материальной среде. В пустоте же все тела должны падать с одинаковой скоростью.
 

"...Никакую нигде не способна
Вещь задержать пустота и явиться какой-то опорой,

В силу природы своей постоянно всему уступая.
Должно поэтому всё, проносясь в пустоте без препятствий,
Равную скорость иметь, несмотря на различие в весе" [2, с. 27].

Наличием пустых промежутков между атомами сторонники Левкиппа и Демокрита объясняли возможность движения предметов, явления разрежения и уплотнения тел, распространение тепловых, световых и магнитных излучений и т. п.

Другая философская концепция - отрицания существования пустоты - обычно связывается с именем Аристотеля (384-322 гг. до н.э.). Однако представления, касающиеся сплошной материи и невозможности появления пустоты, можно встретить и у философов более ранней, ионийской школы. Согласно Эмпедоклу (ок. 490-430 гг. до н.э.), корни всего сущего не допускают пустого пространства:

"Нет во вселенной нигде ни излишка, ни места пустого" [3].

Вакуум противоречил картине мира, разработанной Аристотелем. Пространство определялось великим мыслителем как граница окружающего тела относительно окружаемого, поэтому "пустое пространство было бы абсурдом, так как здесь «окружающее» ничего не окружает" [4]. Кроме того, одним из основных элементов аристотелевой физики были качества предметов, воспринимаемые нами через ощущения: белое, черное, холодное и т.п. Пустота по существу своему не являлась носителем чувственно воспринимаемых качеств и не могла быть объектом физической реальности.

Философский спор, порожденный учениями Демокрита и Аристотеля, продолжался в течение двух тысячелетий. В умозрительных рассуждениях натурфилософов вакуум выступал как абсолютная пустота. Открытие воздуха, изучение его свойств имело место позднее, с приходом новой физики. Тем не менее уже в античные времена, особенно в эллинский период, создавались различные технические устройства, использующие свойства, проявляемые воздухом при разрежении.

Так, водяные насосы, действие которых основано на создании разрежения под поршнем, были известны уже во времена Аристотеля. До нас дошел рисунок пожарного насоса, изобретенного александрийским ученым Ктесибием (около 150 г. до н.э.). Водяной насос был, по существу, прообразом вакуумного поршневого насоса, появившегося спустя почти 2000 лет.

Современник и ученик Ктесибия Герон Александрийский в трактате о пневматике описал разнообразные устройства, для успешной работы которых требовалось достаточно высокое качество изготовления [5]. Изображенный на рис. 1 инструмент, применявшийся в медицинских целях ("шприц для вытягивания гноя"), - это фактически вакуумное устройство. Его действие основано на создании разрежения воздуха под поршнем, что, в свою очередь, требует тщательной подгонки поршня к цилиндру при изготовлении.
 

Рис. 1. Шприц Герона (1 в. до н.э.)

Одна из глав трактата Герона посвящена "теории вакуума". Поддерживая атомистическую теорию, автор полагал, что пустота существует в промежутках между атомами, "подобно тому, как воздух находится между частицами песка на морском берегу" [5, с. 5]. Благодаря мелким пустотам сквозь воздух, воду и другие предметы проникают свет, тепло и разные "телесные силы". При смешивании вина и воды можно наблюдать, как частицы одной жидкости проникают в пустоты, имеющиеся в другой жидкости. В то же время накопление больших количеств пустоты Герон считал невозможным. В подтверждение он приводил пример с узкогорлым сосудом, при переворачива-нии которого вода не выливается. Объяснение данному факту он, подобно перипатетикам, видел в том, что "природа не терпит пустоты" (Natura abhorret vacuum).

Описание технических устройств в трактате Герона приводит к мысли, что уже эллинская техника располагала средствами, достаточными для создания воздушного насоса. И, казалось бы, шаг от водяного к вакуумному насосу, осуществленный Герике в XVII в., мог быть сделан значительно раньше.

В средневековый период вопрос о возможности существования пустоты оказывается в сфере догматически-концептуальных обоснований христианской культуры. На смену умозрительным рассуждениям античных философов приходят доводы религиозно-мистического характера. Уже в период раннего христианства особая роль отводится окружающему воздуху, его значению для всего живого. "Жить значит дышать, - писал Тертуллиан (ок. 160 - после 220), - и дышать значит жить" [6].

Незримая и неосязаемая "сфера паров" представлялась как бы переходом от материального к невещественному, сверхчувственному. На многие века понятие духовного оказалось связанным с воздушным, а воздушного - с духовным. Понятие пустоты поэтому плохо укладывалось в картину мира. Сама мысль о том, что может существовать "пространство, которое не есть ни бог, ни творение, ни тело, ни дух, ни субстанция, ни акциденция" [6, с. 104], уже казалась еретической.

Считая Демокрита и Лукреция своего рода идеологическими противниками, средневековые мыслители тем не менее обращались к образу мельчайших частиц, движущихся в пустоте. Так, Исидор Севильский (ок. 570-636) в своих "Началах" рассматривает основные положения античного учения об атомах:

"Они, как говорят, порхают по пустоте мира в не знающих покоя движениях и носятся туда и сюда, подобно тем тончайшим пылинкам, которые видны в лучах солнца, льющихся через окна. Из них, как полагали некоторые языческие философы, возникают деревья и травы, и все сущее" [3, с. 65].
Идеи натурфилософской атомистики можно встретить и у представителя шартрской школы Гильома Коншского (ок. 1080-1154). Однако в основе его комментариев к учению об атомах и пустоте лежала мистика платоно-августинской религиозности:
"Нет столь ложной школы, которая не имела бы некоторой примеси истины, хотя эта истина и затемняется примесью чего-нибудь ложного. И в самом деле, говоря, что мир состоит из атомов, эпикурейцы говорили правду, однако их слова, что эти атомы безначальны и что, разделенные, они порхали по великой пустоте и что затем они объединились в четыре великих тела, - басня, ибо ничто, кроме бога, не может быть безначальным и не имеющим своего места" [6, с. 69].
Как отмечал Дж. Бернал, у средневековых мыслителей
"вера всегда выше разума в том смысле, что есть вещи, которые один только разум никогда не мог бы постигнуть; но равным образом откровение и разум никогда не могут быть в конфликте. Поскольку ответы известны заранее, споры святых часто имеют вид специальной аргументации. Тем не менее они никогда не подвергались улучшениям и по сей день составляют основу католического учения" [7].
В духе вышесказанного средневековый Парижский университет подошел к христианизации положения "природа не терпит пустоты". В 1277 г. богословы Сорбонны, возглавляемые епископом Парижа Э. Тампье, пришли к заключению, что отрицание всякой возможности существования вакуума ограничило бы всемогущество Божие. Специальным постановлением пустота была отнесена к категории causus divini, то есть явлений, не существующих в природе, но возможных для Бога.

При обсуждении вопроса о вакууме ученые должны были строго придерживаться принятых догм. Любопытное свидетельство этому можно встретить в романе Сирано де Бержерака, герой которого говорит: "У меня на родине меня хотели посадить в тюрьму инквизиции за то, что я утверждал в лицо педантам, что существует пустота..." [8].

Схоластика в вопросах о вакууме господствовала до конца эпохи Возрождения. "Всякое пустое пространство Бог наполняет своей сущностью, устраняя всякое ничто" - это высказывание принадлежит А. Кирхеру, современнику Торричелли и Герике.

Первый физический опыт в вакууме и появление воздушных насосов. Развитие техники в Средние века и эпоху Возрождения зачастую было связано с необходимостью учета свойств, проявляемых воздухом при разрежении. Было известно, в частности, что с помощью насоса всасывающего типа нельзя поднять воду на высоту более 10 м. Поэтому, чтобы откачать воду из глубоких колодцев и шахт, устраивалась система более коротких труб, в каждой из которых двигался поршень. Изображение такой системы водяных насосов можно найти в труде немецкого ученого Г. Агриколы "О горном деле" [9].

Полученные эмпирическим путем знания нуждались в научном объяснении. Если вода поднимается за поршнем из-за "боязни пустоты", то почему эта боязнь прекращается на определенной высоте? В своих "Беседах", вышедших в 1638 г., Галилей отмечал, ссылаясь на опыт флорентийских водопроводчиков, что высота эта всегда одна и та же - примерно 18 локтей. Размышляя над данным фактом, ученый приходит к выводу, что "сила боязни пустоты" ограничена. Можно даже вычислить ее величину, если "определить вес воды, заключающийся в восемнадцати локтях трубы насоса, какого бы диаметра последняя ни была" [10]. Подсчитаем, согласно Галилею, эту величину:

F = 1 г/см3 х 58.4 см х 18=1051 г/см2 = 1.051 кг/см2

Полученная таким образом "сила боязни пустоты" является не чем иным, как величиной атмосферного давления (~1.033 кг/см2).

Подобные рассуждения Галилея привлекли внимание многих ученых. Под влиянием возникшей дискуссии Гаспаро Берти примерно в 1640 г. оборудовал на фасаде своего дома в Риме сооружение, которое можно считать первой установкой для проведения физического опыта в вакууме. Вертикальная труба, герметично соединявшаяся в верхней части со стеклянным сосудом С (рис. 2), заполнялась сверху водой (нижний кран при этом закрыт). Затем верхние краны Y и D закрывались, а нижний R открывался. Водяной столб опускался до некоторого уровня L, превышавшего уровень воды в бочке Т примерно на 10 м. В сосуде образовывался вакуум, что было использовано Эмануэлем Маньяно для проведения следующего эксперимента.
 

Рис. 2. Первый физический опыт в вакууме, проведенный Г. Верти (ок. 1640 г.)

Внутри сосуда были закреплены колокольчик М и молоток. При поднесении снаружи магнита молоток ударял по колокольчику, слышался приглушенный звук. Значительного ослабления, а тем более исчезновения звука ожидать было трудно. "Бертиева" пустота, если учесть упругость паров воды, была на несколько порядков грубее торричеллиевой. В лучшем случае вакуум в установке Берти не превышал нескольких десятков миллиметров ртутного столба. Однако установка Берти продемонстрировала способ удаления воздуха с помощью жидкостного поршня.

Бургомистр немецкого города Магдебурга Отто Герике, по-видимому, знал об экспериментах итальянцев Берти и Маньяно. Во всяком случае, в его книге, вышедшей в 1672 г. [11], приводится описание установки Берти со ссылкой на трактат Г. Шотта. Характерно, что в своем первом опыте, проведенном в 1652 г., Герике намеревался получить пустоту путем откачки воды из плотно закупоренной бочки. Эта попытка оказалась неудачной. К успеху Герике пришел лишь после того, как распорядился откачивать из толстостенного медного сосуда непосредственно воздух. Спустя некоторое время он усовершенствовал вакуумный насос, оборудовав его водяным уплотнением крана и более удобным приводом цилиндра (рис. 3). В книге, помимо хорошо известного опыта с магдебургскими полушариями, описана серия экспериментов с разреженным воздухом. Проведенные наблюдения свидетельствовали о том, что воздух обладает упругостью (смятый пузырь раздувается в "пустоте"), что в откачанном сосуде не могут жить животные, гаснет свеча, ослабевает звук колокольчика.

Рис. 3. Усовершенствованный насос Герике (1654 г.)

Вслед за Герике опыты с вакуумом проводили многие ученые. Собственные конструкции насосов были сделаны Р. Бойлем (1660), Д. Папеном (1674), Ф. Хауксби (1709) и другими исследователями и механиками. Во второй половине XVII в. опыты с "пустотой" вошли в моду, и многие мастера, особенно в Голландии, занимались изготовлением насосов на продажу.

Описывая сделанный им насос, Хауксби отмечал, что в результате продолжительной откачки давление в испытуемом объеме опускалось до величины, немногим ниже 1 дюйма (25.4 мм) ртутного столба.

Первым поршневым вакуумным насосам были присущи некоторые общие недостатки: наличие "мертвого" пространства в цилиндре, неизбежное натекание воздуха через уплотнение штока и другие неплотности. Поэтому можно считать, что достигнутый Хауксби вакуум - порядка 20 мм рт. ст.-был для механических поршневых насосов XVII-XVIII вв. близок к предельному.
 

Рис. 4. Насос Гейслера-Теплера (1862 г.)

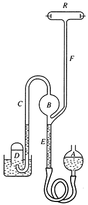
В середине XIX в. в связи с проведением опытов с электрическим разрядом в вакууме получили развитие ртутные насосы, представлявшие собой усовершенствованные конструкции барометрической трубки. На рис. 4 показан ртутно-поршневой насос Гейслера-Теплера, широко использовавшийся в экспериментах в конце XIX - начале XX в. Удаление газа из откачиваемого объема R происходит в результате попеременного поднимания и опускания сосуда с ртутью А. При опускании сосуда столб ртути понижается до уровня Е, воздух из откачиваемого объема поступает через трубку F в объем В. С поднятием сосуда ртуть заполняет объем, вытесняя воздух из него и трубки через ртутный затвор D в атмосферу. Многократно поднимая и опуская сосуд, можно откачать объем до вакуума порядка 102 мм рт. ст. и выше. Достижение таких давлений требовало, однако, продолжительных и утомительных манипуляций с тяжелым сосудом с ртутью.
 

Рис. 5. Схема насоса Шпренгеля (1865 г.)

В процесс совершенствования ртутно-поршневого насоса включился и Д.И. Менделеев, проявлявший значительный интерес к опытам с вакуумом. В 1874 г. русским ученым была сделана собственная конструкция насоса [12], к сожалению, не сохранившаяся до настоящего времени, как и большинство аппаратуры из стекла.

Существенно отличающаяся модификация ртутно-поршневого насоса была предложена в 1865 г. Шпренгелем [13]. Ртуть в насосе Шпренгеля каплями падает из резервуара А в трубку В (рис. 5). Каждая капля при этом выполняет роль маленького поршня, захватывая из сосуда Е порцию воздуха и выталкивая ее через С в атмосферу. В откачиваемом объеме, присоединенном к трубке D, таким образом, достигается высокий вакуум. Данный способ хотя и не требовал непрерывного поднимания и опускания сосуда с ртутью, однако обеспечивал весьма малую скорость откачки - не более нескольких кубических сантиметров в секунду.

В конце XIX в. насосы Гейслера и Шпренгеля использовались не только в научных исследованиях, но и в производстве электрических ламп накаливания.

В заключение подчеркнем, что изобретение Герике оказало существенное влияние на развитие науки и производства. Во времена Герике и Бойля опыты с "пустотой" нанесли смертельный удар по опорному пункту схоластики в науке -догме "боязни пустоты". Вакуумные насосы разных типов стали в дальнейшем неотъемлемой составной частью техники научного эксперимента. Опыты с использованием вакуума способствовали существенному расширению научных знаний, в том числе о глубинных свойствах материи.

Говоря о промышленности, трудно назвать отрасль, в которой не применялись бы вакуумные процессы. Вслед за традиционной сферой - производством электронных приборов - вакуумная техника нашла широкое применение в самых разных областях - от химической и пищевой индустрии до ускорителей элементарных частиц и имитации космической среды. Сегодня нельзя не отдать должное родившемуся 400 лет назад Отто Герике, в заданное историей время выполнившему свою высокую научную миссию.

ЛИТЕРАТУРА

1. Маковельский А.О. Древнегреческие атомисты. Баку, 1946. С. 61.

2. Лукреций. О природе вещей. Т. 2. Л., 1947. С. 15.

3. Цит. по: Зубов В.П. Развитие атомических представлений до начала XIX в. М., 1965. С. 12.

4. Zeller E. Philosophic der Griechen. B. 2. Leipzig, 1862. S. 300.

5. Heronis Alexandrini. Opera quae supersunt omnia. V. 1. Pneumatica et automatica. Leipzig, 1899. S. 255.

6. Цит. по: Столетов А.Г. Очерки развития наших сведений о газах // Столетов А.Г. Собр. соч. Т. 2. М.-Л., 1941. С. 62.

7. Бернал Дж. Наука в истории общества. М., 1956. С. 178.

8. Бержерак С. Иной свет, или Государства и империи Луны. М.-Л., 1931. С. 189.

9. Agricola G. Zwolf Bucher vom Berg und Huttenwesen (1556). Berlin, 1953. S. 158.

10. Галилей Г. Избр. труды. Т. 2. М.: Наука, 1964. С. 129.

11. Guerike О. Experimenta Nova (ut vocantur) Magdeburgica de Vacuo Spatio. Amsterdam, 1672.

12. Менделеев Д.И. Собр. соч. Т. 6. М.-Л., 1936. С. 203.

13. Journ. of Chemical Soc. 1865. N 3. P. 594.

 



VIVOS VOCO!
Сентябрь 2003