№6, 2002 г.

© С.А. Гриднев

Сегнетоэластические кристаллы:
основные свойства, влияние дефектов

С.А.Гриднев

Станислав Александрович Гриднев, д.ф.-м.н.,
профессор кафедры физики твердого тела
Воронежского государственного технического университета.

Не совсем обычное сочетание слов «сегнетоэластический кристалл» или «эластический кристалл» может вызвать некоторое недоумение читателя: бытовые представления о кристалле и об эластичном материале как-то не стыкуются. Однако такие кристаллы на самом деле существуют и активно изучаются. Поэтому вполне естественно возникают вопросы: чем они примечательны и почему к их исследованию проявляется большой интерес? Попробуем разобраться в этом.

Сегнетоэластик - что это?

Можно дать следующее определение сегнетоэластическим кристаллам, или сегнетоэластикам, как часто их называют. Сегнетоэластики - это особый класс кристаллических твердых тел, в которых при структурном фазовом переходе из более симметричной (параэластической) в менее симметричную (сегнетоэластическую) фазу спонтанно (самопроизвольно) возникает деформация кристаллической решетки относительно исходной. Наблюдается эта деформация в определенном температурном интервале, причем ее можно сменить на противоположную, прилагая к кристаллу внешнее механическое напряжение.

Кристаллы отличаются от некристаллических твердых тел тем, что их физические свойства (механические, электрические, магнитные, оптические и др.) зависят от направления в кристалле, т.е. все кристаллы анизотропны. Анизотропия свойств обусловлена периодическим расположением атомов в кристалле и связана с симметрией его кристаллической решетки. Математически анизотропные свойства обычно представляют в виде некоторой квадратной матрицы (тензора), включающей в себя полный набор всех компонент какого-либо свойства для разных направлений. Первый индекс у каждой компоненты указывает строку, а второй - столбец, в котором стоит компонента. Число индексов равно рангу тензора. Физические свойства описываются тензорами от нулевого до четвертого ранга. Тензор нулевого ранга используется для величин, не зависящих от направления (например, для плотности и теплоемкости), - это скаляры, они изотропны для всех кристаллов. Тензором первого ранга (вектором) характеризуется, например, пироэлектрический эффект, второго ранга - теплопроводность, третьего ранга - пьезоэлектрический эффект, четвертого - упругие свойства кристаллов.

Упругие свойства большинства твердых тел при достаточно малых механических напряжениях подчиняются обобщенному закону Гука, связывающему напряжение sik и деформацию* xlm линейной зависимостью

sik = Сiklmxlm,      (1)

где Сiklm - тензор упругих жесткостей.

Иногда закон Гука формулируют иначе:

sik = siklmslm,      (2)

где siklm - тензор упругих податливостей. Тензоры Сiklm и siklm симметричны относительно перестановки индексов в каждой паре и пар индексов между собой.

* Здесь под деформацией мы будем понимать безразмерную величину, представляющую собой отношение удлинения к длине образца при растяжении-сжатии или отношение длины дуги, на которую смещается верхнее сечение образца относительно нижнего, к длине образца при кручении.
Для кристаллов с низкой симметрией полное описание упругих свойств требует знания большого числа независимых компонент упругой податливости или жесткости по разным направлениям. Например, для цинка их пять, а для кристалла триглицинсульфата - 13. Очевидно, что деформация - реакция кристалла на воздействие внешнего напряжения - также должна содержать большое число компонент xik, определяемых как симметрией кристалла, так и направлением воздействия.

Если изменяется лишь температура кристалла, мы имеем дело с ненаправленным воздействием, и результирующая деформация, возникающая при этом (тепловое расширение), оказывается однородной и не нарушает симметрии кристалла. Спонтанная деформация в сегнетоэластическом кристалле также появляется при изменении температуры (охлаждении ниже точки фазового перехода), но здесь ситуация иная, отличная от теплового расширения. В результате фазового перехода в сегнетоэластике обязательно возникает новая компонента деформации, запрещенная в высокосимметричной фазе; именно она и порождает новый вид перехода - сегнетоэластический [1].

Различают чистые сегнетоэластики - кристаллы, обладающие только сегнетоэластическими свойствами, но не обнаруживающие сегнетоэлектрического или ферромагнитного поведения, и смешанные (комбинированные) сегнетоэластики - кристаллы, являющиеся одновременно сегнетоэластиками и сегнетоэлектриками или сегнетоэластиками и ферромагнетиками. К числу первых относятся кристаллы ортофосфата свинца Pb3(PO4)2, тригидроселенита калия KH3(SeO3)2 и др.; к числу вторых - кристаллы титаната бария BaTiO3, молибдата гадолиния Gd2(MoO4)3, дигидрофосфата калия KН2РО4 и др. Хотя не каждый сегнетоэлектрик или ферромагнетик оказывается сегнетоэластиком, класс сегнетоэластических кристаллов, как теперь установлено - самый многочисленный класс кристаллов, испытывающих структурные фазовые переходы. Как и сегнетоэлектрики, они могут быть одноосными, в которых спонтанная деформация возникает только вдоль одной из осей кристалла, если это продольная компонета x, или вокруг одной из осей кристалла при сдвиговой компоненте деформации (тригидроселенит калия, молибдат гадолиния), а также многоосными (например, ортофосфат свинца, титанат бария).

На возможность существования фазовых переходов, сопровождающихся одной только спонтанной деформацией, впервые указал наш соотечественник В.Л.Инденбом еще в 1960 г., однако только в 1969 г. японский ученый К.Аизу ввел в физику твердого тела специальный термин «сегнетоэластик» (или «ferroelastic» в иностранной научной литературе) и показал необходимость отдельного рассмотрения сегнетоэластических фазовых переходов. Вскоре стало ясно, что и на макроскопическом, и на микроскопическом уровне сегнетоэластики обнаруживают ряд существенных отличительных особенностей в поведении. Таким образом, теперь не вызывает сомнения тот факт, что они заслуживают самостоятельного изучения.

О структурных метаморфозах

Среди различных типов фазовых переходов в твердых телах, когда изменяются различные характеристики (электронные, магнитные, и др.), наиболее часто встречаются структурные фазовые переходы - такие, при которых трансформируются структура и симметрия кристалла. Структурные переходы принято делить на две большие группы: реконструктивные и дисторсионные. Первые сопровождаются перемещением атомов на большие расстояния и радикальной перестройкой структуры, при вторых происходит небольшое смещение атомов - всего на доли элементарной ячейки. В последнем случае исходная структура искажается слабо, и для описания вводят так называемый параметр перехода.

Параметр перехода - некоторая характеристика, отсутствующая в высокосимметричной фазе и появляющаяся в результате фазового перехода в низкосимметричной фазе. В этом качестве чаще всего выступает макроскопическая физическая величина, легко измеряемая в физическом эксперименте - электрическая поляризация Р, намагниченность М, деформация x и др.

В окрестности структурного перехода практически все физические свойства (диэлектрические, упругие, электрооптические, пьезоэлектрические и др.) ведут себя необычно, аномально. Соответствующие величины изменяются скачком, проходят через максимум и т.д. Если, например, параметром перехода служит компонента вектора поляризации P (сегнетоэлектрический фазовый переход), то аномально при температуре фазового перехода (в точке Кюри ТC) изменяется диэлектрическая проницаемость e, если же параметр перехода - вектор намагниченности M (ферромагнитный фазовый переход), то магнитная проницаемость m, а если параметр перехода - деформация x (сегнетоэластический фазовый переход), то упругая податливость s.

Как правило, спонтанно возникающие величины P, M или x по-разному зависят от соответственно внешнего электрического поля Е, магнитного поля Н или механического напряжения s, когда те увеличиваются и уменьшаются - говорят, что имеет место гистерезис. Гистерезисные кривые Р(Е), М(Н) и x(s) отражают тот факт, что направление векторов спонтанной поляризации и намагниченности, знак продольной (растяжение-сжатие), сдвиговой деформации могут быть изменены на обратные или переориентированы на определенный угол под действием внешних Е, Н или s. Несмотря на различную природу этих явлений, их объединяет качественно одинаковое поведение основных, характерных для этих классов кристаллов, свойств: магнитных (а), электрических (б) и механических (в) - см. рис.1.

Рис. 1. Температурные зависимости спонтанной намагниченности Мсп, поляризации Рсп и деформации xсп - ниже точки Кюри; обратных значений магнитной проницаемости m, диэлектрической проницаемости e и упругой податливости s - выше точки Кюри, и петли гистерезиса М(Н), Р(Е) и x(s) для ферромагнетика (а), сегнетоэлектрика (б) и сегнетоэластика (в).
Наличие в названиях таких веществ общей части «ферро»* дало основание ввести для них общее название - ферроичные кристаллы, или ферроики. Можно сказать, что сегнетоэластики - это механические аналоги сегнетоэлектриков и ферромагнетиков, т.е. кристаллы с нелинейными механическими свойствами.
* В зарубежной литературе сегнетоэлектрики известны как «ferroelectrics».
Сегнетоэластические фазовые переходы обладают рядом общих черт:
- имеется параметр перехода;

- искажение кристаллической решетки и смещения атомов при переходе малы по сравнению с параметрами элементарной ячейки, причем низкосимметричную структуру можно в принципе получить малым искажением структуры исходной высокосимметричной фазы;

- ниже точки перехода возникают сегнетоэластические домены (упругие двойники), решетки которых находятся в определенном ориентационном соответствии друг с другом и с решеткой параэластической фазы;

- под действием внешнего механического напряжения, сопряженного со спонтанной деформацией, сегнетоэластические домены могут переключаться из одного ориентационного состояния в другое, что приводит к нелинейной зависимости x от s;

- при циклическом изменении s зависимость x(s) имеет вид насыщенной петли механического гистерезиса;

- в окрестности сегнетоэластического фазового перехода наблюдаются аномалии ряда физических свойств кристалла.

Все эти признаки абсолютно аналогичны тем, что были установлены первоначально для ферромагнитных и сегнетоэлектрических фазовых переходов. Но особенности сегнетоэластических, прежде всего реальных (содержащих дефекты), кристаллов изучены менее всего. Усилия исследователей в последние годы направлены на решение главной проблемы в физике сегнетоэластиков: выяснению роли дефектов в формировании основных свойств кристалла и установлению природы взаимодействия дефектов различного типа в кристаллической решетке.

На домены - разделись!

Итак, при температуре выше точки Кюри ТC сегнетоэластик пребывает в параэластической фазе, когда деформация отсутствует. Если же охладить его ниже ТC, причем в механически свободном состоянии (внешних механических напряжений нет), он переходит в сегнетоэластическую фазу - возникают деформации. При этом кристалл разбивается на сегнетоэластические домены таким образом, чтобы суммарная деформация образца с учетом ее знаков в каждом домене равнялась нулю (рис.2). Домены - это области сегнетоэластика с постоянным значением спонтанной деформации, отличающиеся друг от друга направлением последней. Разбиение кристалла на домены соответствует при этом минимуму упругой энергии кристалла.

Рис. 2. Схематическое изображение возникновения (а, б) и перестройки (б-в, б-г) доменной структуры в сегнетоэластическом кристалле.
Если приложить к кристаллу внешнее механическое напряжение, которое направлено определенным образом, спонтанные деформации, существующие в отдельных доменах, могут быть переориентированы. При достаточно больших значениях напряжения кристалл становится монодоменным, а его суммарная деформация достигает насыщения.

Причины образования доменной структуры сегнетоэластиков на сегодняшний день не совсем ясны. Параллели с сегнетоэлектриками и ферромагнетиками здесь провести не удается. Дело в том, что в сегнетоэластиках нет аналога деполяризующего или размагничивающего поля, поэтому нет и энергетического стимула разбиения на домены. В однородном поле механических напряжений равновесным является монодоменное состояние. Согласно гипотезе, высказанной А.Л.Ройтбурдом, роль деполяризующего поля в сегнетоэластиках играют неоднородные внутренние напряжения, возникающие в кристалле при переходе через точку Кюри и распространяющиеся на большие расстояния. Эти напряжения становятся существенно меньше, когда кристалл ниже ТC разбивается на домены с различной собственной деформацией. При определенной толщине доменов происходит исчезновение дальнодействующих упругих напряжений, т.е. процесс разбиения на домены оказывается энергетически выгодным.

В прозрачных сегнетоэластических кристаллах доменную структуру можно наблюдать с помощью оптического поляризационного микроскопа благодаря разориентации оптических индикатрис соседних доменов.

Оптическая индикатриса представляет собой геометрическое место точек, которые изображают в условном масштабе величины показателей преломления, отложенные из центра полярной диаграммы для выбранных направлений. Полученная поверхность и будет индикатрисой. Для изотропных сред индикатриса - сфера, а для анизотропных - эллипсоид вращения или более сложная поверхность. Метод наблюдения доменов в поляризованном свете использует то обстоятельство, что разориентация направлений спонтанной деформации в сегнетоэластических доменах всегда сопровождается соответствующей разориентацией их оптических индикатрис. Поэтому при рассмотрении в проходящем свете пластинки кристалла, помещенной между двумя скрещенными поляроидами, одни домены будут светлыми (свет через них проходит), а другие темными, так как положения погасания для соседних доменов не совпадают, т.е. соседние сегнетоэластические домены всегда визуально различимы (рис.3). Таким образом, оптическая различимость доменов в поляризованном свете - надежный экспериментальный признак сегнетоэластика. И действительно, все известные кристаллы, в которых доменная структура наблюдается в поляризационном микроскопе (BaTiO3, KH2PO4, Gd2(MoO4)3, KH3(SeO3)2 и др.), - сегнетоэластики. Наоборот, одноосные коллинеарные сегнетоэлектрики, доменную структуру которых нельзя различить этим методом (SbSJ, триглицинсульфат), не обладают сегнетоэластическими свойствами.
 

Рис. 3. Изображение доменной структуры монокристалла сегнетовой соли в поляризованном свете.

Геометрия доменов в кристаллах сегнетоэластиков весьма разнообразна. Реальная структура определяется природой и характером распределения дефектов, а также геометрией и предысторией образца. Число различных типов доменов, взаимная ориентация их спонтанной деформации зависят от симметрии кристалла. Так, например, в кристалле чистого сегнетоэластика Pb3(PO4)2 наблюдаются три типа доменов, которые могут быть разделены двумя видами доменных границ.

Если сегнетоэластик - смешанный, т.е. является одновременно и сегнетоэлектриком, то границы между сегнетоэластическими доменами оказываются и границами, разделяющими сегнетоэлектрические домены. При этом, если кристалл - одноосный сегнетоэлектрик (такой сегнетоэлектрик, в котором Pсп возникает только вдоль одной из осей кристалла, например молибдат гадолиния, сегнетова соль и др.), то сегнетоэластические домены совпадают с сегнетоэлектрическими. Подобные смешанные сегнетоэластики называют полными сегнетоэластиками-сегнетоэлектриками. В случае многоосных сегнетоэлектриков, в которых Pсп может равновероятно возникать вдоль одной из нескольких осей кристалла (титанат бария, тригидроселенит натрия и пр.), внутри каждого сегнетоэластического домена может существовать уже чисто сегнетоэлектрическая доменная субструктура. Такие смешанные сегнетоэластики называют неполными сегнетоэластиками-сегнетоэлектриками. Соседние сегнетоэластические домены оптически различимы в поляризованном свете, а сегнетоэлектрическая субструктура - нет. Подчеркнем, что все многоосные сегнетоэлектрики непременно являются сегнетоэластиками.

Непостоянство доменов

Домены могут переключаться из одного ориентационного состояния в другое под действием механических напряжений определенной величины и направления. В поле внешних напряжений они становятся энергетически неэквивалентными, и более благоприятно ориентированные относительно этого поля растут за счет энергетически менее выгодных. Устанавливается новая доменная структура, соответствующая данному значению внешнего напряжения; при некотором его значении кристалл вообще переходит в монодоменное состояние: доменные границы исчезают и весь кристалл представляет собой один домен. Перестройка доменной структуры лежит в основе изменения макроскопической деформации сегнетоэластиков под действием механических напряжений. Кинетика доменных границ определяется их подвижностью в реальном кристалле, а также процессами зарождения новых доменов. Процесс переключения может происходить, например, путем зарождения тонких клиновидных или линзообразных доменов с последующим их ростом и движением регулярных плоских или зигзагообразных доменных границ.

Взаимодействие доменных границ с периодическим полем кристаллической решетки, с дефектами и неоднородностями кристалла или с другими доменными границами приводит к «трению», возникающему при их перемещении. Из-за него трансформация доменной структуры при циклическом изменении внешних напряжений становится необратимой: суммарная деформация при увеличении напряжения, при его уменьшении и изменении знака ведет себя по-разному. Другой причиной сегнетоэластического гистерезиса является задержка образования и роста зародышей переключаемых областей из-за влияния дефектов. С одной стороны, дефекты кристаллической решетки облегчают процесс образования зародышей и тем самым способствуют переключению образца, а с другой - препятствуют смещению доменных границ и тем самым его затрудняют. Как уже говорилось, зависимость деформации x от величины механического напряжения s не линейна и имеет вид петли гистерезиса (рис.4). Ее форма x(s) зависит от многих факторов: температуры, частоты и амплитуды внешнего поля, количества примесей и дефектов кристаллической решетки в материале и др. [2].

Рис. 4. Температурная эволюция петель сегнетоэластического гистерезиса при приближении к точке Кюри (ТC = 211 К) кристалла KH3(SeO3)2.
По петле гистерезиса можно определить величину спонтанной деформации xсп (продолжая участок насыщения петли гистерезиса до пересечения с осью x, как показано на левой кривой рис.4) и коэрцитивного напряжения sк. Последнее соответствует переключению доменов и переходу кристалла в монодоменное состояние, сопровождающемуся сменой знака xсп. Для сегнетоэластиков характерны большие величины xсп = 10–3-10–1.

Что же касается sк, то их значения варьируются в пределах от 105 Па для так называемых эластомягких кристаллов с узкой петлей гистерезиса до 108 Па для эластожестких кристаллов, характеризующихся широкой петлей гистерезиса.

Магическая температура

Температура - ключевая для фазовых переходов величина. При изменении температуры и ее приближении к точке Кюри форма петли гистерезиса изменяется (рис.4). Хорошо видно, как при нагревании сегнетоэластика спонтанная деформация xсп уменьшается по величине и стремится к нулю при Т ® ТC. Величина xсп сильнее всего зависит от температуры в области фазового перехода, а в самой точке перехода исчезает либо скачком (фазовый переход 1-го рода, например, в BaTiO3), либо непрерывно (фазовый переход 2-го рода, например, в тригидроселените калия). В последнем случае температурная зависимость xсп ниже ТC определяется выражением:

xсп = [a0(ТCТ)] / b,     (3)

где a0 и b - постоянные коэффициенты,ТC - температура Кюри.

Как выяснилось [2], специально введенные в кристалл KH3(SeO3)2 точечные дефекты (ионы Cr3+) сильно влияют на форму петель механического гистерезиса и ее изменение при нагревании. Так, петли, полученные на номинально чистых образцах, симметричны относительно осей напряжений и деформаций (рис.4), а примесь приводит к их смещению относительно этих осей (рис.5). Асимметрия петель, полученных на образцах с введенными дефектами, уменьшается по мере приближения к ТC. Причиной асимметрии петель оказывается порожденное примесными дефектами внутреннее поле, которое способствует росту доменов, благоприятно ориентированных относительно внутреннего поля. При этом создается так называемое «унидеформационное» состояние, аналогичное униполярному состоянию в сегнетоэлектриках с дефектами.

Рис. 5. Петли сегнетоэластического гистерезиса для кристалла KH3(SeO3)2, легированного хромом, при разных температурах.
Располагая экспериментальными кривыми сегнетоэластического гистерезиса, можно построить температурные зависимости квадрата спонтанной деформации x2сп(Т), которые, согласно формуле (3), должны быть прямыми линиями, проходящими через ТC (рис.6). При наличии дефектов, однако, налицо отклонения: для кристалла с ионами Cr3+ прямая x2сп(Т) сдвигается, и, кроме того, вблизи ТC = 211 К возникает излом, зависимость x2сп(Т) искривляется. Это свидетельствует о том, что в кристалле с фазовым переходом 2-го рода появляются черты фазового перехода 1-го рода, вызванные влиянием дефектов.
 
Рис. 6. Температурные зависимости x2сп(Т): 1 - по данным рис. 5; 2 - для номинально чистого кристалла. 

Сильная температурная зависимость выше и ниже ТC наблюдается также у упругой податливости s и других констант сегнетоэластика. Так, с приближением к точке Кюри s резко возрастает. В большинстве сегнетоэластиков зависимость упругой податливости от температуры при Т > ТC подчиняется закону Кюри-Вейсса:

s = sҐ + [Cw / (ТТC) ],      (4)

где sҐ - неаномальная часть упругой податливости вдали от ТC, Cw - константа Кюри-Вейсса. Чтобы проверить, выполняется ли закон Кюри-Вейсса, обычно строят зависимость обратной податливости 1/(s - sҐ) от (ТТC) - согласно (4), она должна представлять собой прямую линию.

Сильное изменение деформации образца под действием механических напряжений за счет смещения доменных границ обусловливает большую величину упругой податливости s полидоменного сегнетоэластика. Значение s тем больше, чем слабее «закреплены» доменные границы на дефектах и на поверхности кристалла.

Сегнетоэластические выкрутасы

Поскольку в сегнетоэластиках в результате фазового перехода спонтанно возникает одна или несколько компонент тензора упругой деформации, пространственное изменение такого параметра порождает дальнодействующие упругие силы. Из-за разбиения на домены и наличия в реальных кристаллах различных дефектов деформация в низкосимметричной фазе распределена неоднородно, и это может приводить к неожиданным механическим эффектам. В частности, было обнаружено [3-5], что образцы сегнетоэластических кристаллов самопроизвольно закручиваются при изменении температуры в окрестности ТC (без всяких внешних механических напряжений). Такое закручивание имеет место только в сегнетоэластической фазе и не наблюдается в фазе параэлектрической, т.е. оно связано с особенностями сегнетоэластического состояния. Кроме того, закручиваются лишь образцы «активной» кристаллографической ориентации, в которых механическое напряжение сопряжено со спонтанной деформацией и вызывает движение доменных границ. Очевидно, что обнаруженный эффект связан с наличием двойниковой структуры, ее состоянием и является своеобразным эффектом памяти формы [6]: образец, спонтанно закрутившийся на некоторый угол при охлаждении ниже ТC, начинает раскручиваться при последующем нагревании, а выше ТC принимает свою прежнюю форму.

Впервые эффект закручивания наблюдался в чистых собственных сегнетоэластиках KH3(SeO3)2 и KD3(SeO3)2 [2]. Позже он был обнаружен и в других сегнетоэластических кристаллах, например в Ba2NaNb5O15 [3], Hg2Cl2 [4] и др. Во всех этих кристаллах в результате фазового перехода спонтанно возникает та или иная сдвиговая компонента тензора деформации. Экспериментально установлено [2-5], что величина угла спонтанного закручивания образца зависит от состояния доменной структуры, которое можно изменять высокотемпературным отжигом, введением дефектов или внешним статическим механическим напряжением (рис.7). По-видимому, обнаруженный эффект нельзя объяснить только изменением симметрии при фазовом переходе, так как возникает он лишь в случае, когда отсутствует баланс между доменами с разным знаком спонтанной деформации (из-за неоднородного распределения дефектов в кристаллической решетке).

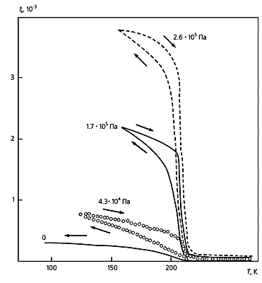
Рис. 7. Температурные зависимости спонтанной крутильной деформации кристалла KH3(SeO3)2 при различном внешнем статическом напряжении.
Если сдвиговую деформацию доменов, возникающую в сегнетоэластической фазе, представить как результат образования в объеме домена непрерывно распределенных замкнутых дислокационных петель [7], угол j спонтанного закручивания образца будет прямо пропорциональным спонтанной деформации и разности площадей доменов с xсп разного знака. Именно последняя величина окажется решающей: образец не будет закручиваться при изменении температуры в том случае, когда количество доменов одного и другого знака одинаково. Если внешним статическим напряжением sст изменить это соотношение, то деформация кручения x, пропорциональная углу j, будет увеличиваться с ростом sст, что наблюдается в эксперименте (рис.7).

То, что в эксперименте образцы закручиваются лишь в одну из сторон, можно объяснить как результат самосогласованного зарождения новых доменов в поле упругих напряжений доменов, уже существующих. Если в кристалле есть явно выраженная неоднородность (дефект), то в этой локальной области образуется небольшой домен (зародыш). Появление этого домена-лидера вызывает незначительное закручивание кристалла в одну из сторон. В поле упругих напряжений такого слегка закрученного кристалла облегчается зарождение новых доменов, компенсирующих упругое поле, но приводящих к дополнительному закручиванию кристалла в ту же сторону. Так как процесс этот носит самосогласованный характер, то при охлаждении кристалла закручивание происходит только в одну сторону.

* * *
Напоследок хочется еще раз обратить внимание читателя на важность исследования наиболее широкого класса диэлектрических кристаллов - сегнетоэластиков - как для науки, так и для различных областей техники.

Во-первых, в физике твердого тела появился новый раздел - физика сегнетоэластических кристаллов, т.е. кристаллов с нелинейными механическими свойствами, обусловленными возникновением спонтанной деформации при фазовом переходе, разбиением кристалла на сегнетоэластические домены и динамикой доменных границ. Кроме чистых собственных сегнетоэластиков этот класс включает в себя также многочисленные кристаллы, обладающие помимо сегнетоэластических еще и сегнетоэлектрическими, суперионными свойствами, кристаллы с несоразмерными фазами, высокотемпературные сверхпроводники, фуллерены и др. Во-вторых, общность сегнетоэластических фазовых переходов с другими ферроическими позволяет использовать один и тот же прием анализа различных типов фазовых переходов.

Что касается приложений, то здесь подводить итоги пока рано: всю потенциальную сферу применений в настоящее время трудно себе представить. По-видимому, сейчас наибольшие перспективы связаны с использованием сегнетоэластиков в управляемых акустоэлектронных устройствах обработки сигналов, а также с созданием принципиально новых типов устройств [8]. Для этого необходимы поиск и исследование новых сегнетоэластических кристаллов и совершенствование технологии их получения.

Работа выполнена при поддержке Российского фонда фундаментальных исследований.
Проект 98-02-16055.

Литература

1. Шувалов Л.А. // Изв. АН СССР. Сер. физ. 1979. Т.43. №8. C.1554-1560.

2. Гриднев С.А., Шувалов Л.А., Кудряш В.И. // Изв. АН СССР. Сер. физ. 1983. Т.47. №3. C.497-499.

3. Гриднев С.А., Бирюков А.В., Иванов О.Н. // ФТТ. 1999. Т.41. №10. C.1848-1850.

4. Binder A., Knorr K., Markov Yu.F. // Phys. Rev. B. 2000. V.61. №1. P.190-196.

5. Гриднев С.А., Иванов О.Н., Михайлова Л.П., Давыдова Т.Н. // ФТТ. 2001. Т.43. №4. C.693-696.

6. Лихачев В.А., Кузьмин С.Л., Каменцева З.П. Эффект памяти формы. Л., 1987.

7. Современная кристаллография. Т.4. Шувалов Л.А., Урусовская А.А., Желудев И.С. и др. Физические свойства кристаллов. М., 1981. С.84-110.

8. Алексеев А.Н., Злоказов М.В., Осипов И.В. // Изв. АН СССР. Сер. физ. 1983. Т.47. №3. C.465-475.

 


VIVOS VOCO! - ЗОВУ ЖИВЫХ!
Май 2002