¹ 6, 2001 ã.
© Ì.À.Îñòðîâñêèé, Í.Ë.Ñàêèíà, È.Á.Ôåäîðîâè÷, Â.Ì.×åñíîâ

Ôèçèêè è ñâåòîâàÿ ÷óâñòâèòåëüíîñòü ãëàçà
 

àêàäåìèê Ì.À.Îñòðîâñêèé
Í.Ë.Ñàêèíà, êàíäèäàò áèîëîãè÷åñêèõ íàóê
È.Á.Ôåäîðîâè÷, êàíäèäàò áèîëîãè÷åñêèõ íàóê
Èíñòèòóò áèîõèìè÷åñêîé ôèçèêè èì.Í.Ì.Ýìàíóýëÿ ÐÀÍ

Â.Ì.×åñíîâ, êàíäèäàò òåõíè÷åñêèõ íàóê
Èíñòèòóò èñòîðèè åñòåñòâîçíàíèÿ è òåõíèêè ÐÀÍ

“Áèîëîãèÿ ñòàíîâèòñÿ ñëèøêîì ñåðüåçíîé íàóêîé, ÷òîáû åå ìîæíî áûëî äîâåðÿòü áèîëîãàì”, - ïîøóòèë êòî-òî èç ôèçèêîâ. Êîíå÷íî, ýòî íåñïðàâåäëèâàÿ øóòêà, íî â îòíîøåíèè ôèçèîëîãèè çðåíèÿ â êàêîé-òî ìåðå âåðíà. Èìåííî ôèçèêè ñäåëàëè ïåðâûé øàã â ðåøåíèè ïðîáëåì îïòèêè ãëàçà, öâåòîâîãî çðåíèÿ, àáñîëþòíîé ñâåòîâîé ÷óâñòâèòåëüíîñòè. È ýòî íåñëó÷àéíî, èáî ôèçèêà, â ïåðâóþ î÷åðåäü îïòèêà, è ôèçèîëîãèÿ çðåíèÿ òåñíî ñâÿçàíû.

Ãåîìåòðè÷åñêàÿ îïòèêà âîçíèêëà íà çàðå íàóêè. Îíà ïûòàëàñü îáúÿñíèòü çàêîíû ðàñïðîñòðàíåíèÿ ñâåòà è ïîñòðîåíèÿ èçîáðàæåíèé ïðè ïîìîùè îïòè÷åñêèõ ïðèáîðîâ. Îøèáêà Ëåîíàðäî äà Âèí÷è áûëà íåèçáåæíîé, êîãäà îí ïûòàëñÿ çàêîíàìè ãåîìåòðè÷åñêîé îïòèêè îáúÿñíèòü íåïåðåâåðíóòîñòü çðèòåëüíîãî èçîáðàæåíèÿ. Ïîíàäîáèëñÿ ãåíèé ôèçèêà È.Êåïëåðà, ÷òîáû, ðàññìîòðåâ ãëàç êàê îáû÷íûé îïòè÷åñêèé ïðèáîð, ïðèéòè ê åäèíñòâåííî ïðàâèëüíîìó âûâîäó: èçîáðàæåíèå íà ñåò÷àòêå è ïåðåâåðíóòîå, è óìåíüøåííîå. Íà âîïðîñ, ïî÷åìó æå ìèð âîñïðèíèìàåòñÿ íåïåðåâåðíóòûì, îí îòâå÷àë: “ß îñòàâèë åãî íàòóðôèëîñîôàì”. Íàòóðôèëîñîôû, ò.å. ôèçèîëîãè, îòâåòèëè íà íåãî ñòîëåòèÿìè ïîçæå.

Ñî âðåìåí Åâêëèäà, Ãàëåíà è Ïòîëåìåÿ äî 1583 ã. ñóùåñòâîâàëî çàáëóæäåíèå, áóäòî õðóñòàëèê - ÷óâñòâóþùèé ñâåò îðãàí. Èìåííî Êåïëåð, êîòîðûé, âîçäàâ äîëæíîå âñåìè çàáûòîìó áèîëîãó Ô.Ïëàòåðó, îñîçíàë, ÷òî ñâåòî÷óâñòâèòåëüíûé îðãàí çðåíèÿ íå õðóñòàëèê, à ñåò÷àòêà. Êåïëåðà ïî ïðàâó ñëåäóåò ñ÷èòàòü îòöîì ôèçèîëîãè÷åñêîé îïòèêè.

Íà çàðå ýëëèíñêîé êóëüòóðû, åùå â V â. äî í.ý., Ýìïåäîêë ïðåäïîëîæèë, ÷òî ñóùåñòâóþò íåêèå îñíîâíûå öâåòà, ñìåøåíèå êîòîðûõ ñîçäàåò áåñêîíå÷íîå ðàçíîîáðàçèå öâåòîâûõ îòòåíêîâ. Çàòåì È.Íüþòîí îáúÿñíèë ôèçèêó öâåòà, ñîçíàòåëüíî îñòàâèâ â ñòîðîíå ôèçèîëîãèþ öâåòîâîãî âîñïðèÿòèÿ. È íàêîíåö, ôèçèê (ìåäèê ïî îáðàçîâàíèþ) Ò.Þíã, îòêðûâøèé ÿâëåíèå èíòåðôåðåíöèè, â 1802 ã. ïðåäëîæèë òåîðèþ öâåòîâîãî çðåíèÿ, ñîãëàñíî êîòîðîé â ãëàçó ÷åëîâåêà èìåþòñÿ òîëüêî òðè ïðèåìíèêà, âîñïðèíèìàþùèõ îñíîâíûå öâåòà - êðàñíûé, çåëåíûé è ñèíèé. Òåîðèþ Þíãà çàáûëè íà ïîëñòîëåòèÿ. Îäíîâðåìåííî è íåçàâèñèìî î íåé âñïîìíèëè äâà äðóãèõ ôèçèêà - Äæ.Ê.Ìàêñâåëë â Øîòëàíäèè è Ã.Ãåëüìãîëüö â Ãåðìàíèè. Ñîçäàòåëü ýëåêòðîìàãíèòíîé òåîðèè ñâåòà Ìàêñâåëë ðàçðàáîòàë òî÷íûå ìåòîäû èçìåðåíèÿ öâåòà, êîòîðûå ïðèìåíÿëèñü äî ñàìîãî ïîñëåäíåãî âðåìåíè. Ýíöèêëîïåäèñò åñòåñòâîèñïûòàòåëü Ãåëüìãîëüö (òîæå ìåäèê ïî îáðàçîâàíèþ) ñóùåñòâåííî ðàçâèë è óòâåðäèë òðåõêîìïîíåíòíóþ òåîðèþ Þíãà. Òàêîâà èñòîðè÷åñêàÿ öåïî÷êà: ôèëîñîô Ýìïåäîêë (V â. äî í.ý.), ôèçèêè Þíã, Ãåëüìãîëüö, Ìàêñâåëë (ÕIÕ â.). Çàäà÷à áóäóùåãî - âûÿñíèòü êëåòî÷íûå è ìîëåêóëÿðíûå ìåõàíèçìû âîñïðèÿòèÿ öâåòà, ðàçîáðàòüñÿ â ãåíåòèêå è èíôîðìàòèêå öâåòîâîãî çðåíèÿ.

Àáñîëþòíàÿ ÷óâñòâèòåëüíîñòü ãëàçà

Æèçíåííûé îïûò óáåæäàåò, ñêîëü ÷óâñòâèòåëåí ãëàç ÷åëîâåêà ê ñâåòó. Àñòðîíîìû äàâíî íàó÷èëèñü êðàåøêîì ãëàçà (êàê ìû òåïåðü ïîíèìàåì, ïåðèôåðè÷åñêèì ïàëî÷êîâûì çðåíèåì) ðàçëè÷àòü íà íî÷íîì íåáå äàæå ñàìûå ñëàáûå çâåçäû. Îäíàêî íåîáõîäèìû áûëè êîíêðåòíûå çíàíèÿ î ìèíèìàëüíîé ýíåðãèè ñâåòà èëè ÷èñëà êâàíòîâ, ñïîñîáíûõ ñîçäàòü ñóáúåêòèâíîå îùóùåíèå ñâåòîâîé âñïûøêè. Îò ýòîãî ïðÿìî çàâèñèò ïîíèìàíèå ïðîöåññîâ ïðåîáðàçîâàíèÿ ñâåòîâîãî ñèãíàëà â çðèòåëüíûé, ò.å. ïîíèìàíèå ìîëåêóëÿðíûõ ìåõàíèçìîâ ôîòîòðàíñäóêöèè.

Êàê ìû òåïåðü çíàåì, â ýêñïåðèìåíòå ïî îïðåäåëåíèþ ïîðîãà ÷óâñòâèòåëüíîñòè çðèòåëüíîé ñèñòåìû íåîáõîäèìû ñëåäóþùèå óñëîâèÿ: ïðåäâàðèòåëüíàÿ òåìíîâàÿ àäàïòàöèÿ ãëàçà íàáëþäàòåëÿ; ôèêñàöèÿ ïÿòíà ñâåòà íà ïåðèôåðèè ñåò÷àòêè, ãäå íàõîäÿòñÿ áîëåå ÷óâñòâèòåëüíûå ê ñâåòó ïàëî÷êè (ñóìåðå÷íîå çðåíèå); äîñòàòî÷íî ìàëåíüêîå ñâåòîâîå ïÿòíî, ïàäàþùåå íà ñåò÷àòêó ãëàçà, ïîðÿäêà 10 èëè ìåíåå óãëîâûõ ìèíóò; êðàòêîâðåìåííàÿ (~1 ìñ) ñâåòîâàÿ âñïûøêà; îïðåäåëåííàÿ äëèíà âîëíû ñâåòà, ñîîòâåòñòâóþùàÿ ìàêñèìóìó ñïåêòðàëüíîé ÷óâñòâèòåëüíîñòè ïàëî÷êîâîãî çðåíèÿ (îêîëî 510 íì).

Åùå â êîíöå XIX â. âïîëíå ãðàìîòíî îïðåäåëèë ïîðîã ÷óâñòâèòåëüíîñòè ãëàçà àìåðèêàíñêèé ôèçèê è àñòðîíîì Ñ.Ð.Ëýíãëè (1834-1906). Ïðè èçó÷åíèè ñîëíå÷íîé àêòèâíîñòè åìó íåîáõîäèìî áûëî èçìåðÿòü èíòåíñèâíîñòü ðàäèàöèè âî âñåì äèàïàçîíå äëèí âîëí. Òàê îí ñîçäàë òåïëîâîé äåòåêòîð ñâåòîâîé ýíåðãèè - áîëîìåòð, ÷óâñòâèòåëüíîñòü êîòîðîãî íå çàâèñåëà îò äëèíû âîëíû ñâåòà, ÷òî è áûëî ïðèíöèïèàëüíî âàæíûì äëÿ Ëýíãëè [1]. Ñîâðåìåííîå îïðåäåëåíèå ãëàñèò, ÷òî áîëîìåòð - ýòî êàëèáðîâàííûé âûñîêî÷óâñòâèòåëüíûé ïðèáîð ñ ïëîñêîé ñïåêòðàëüíîé õàðàêòåðèñòêîé äëÿ èçìåðåíèÿ ñâåòîâûõ ïîòîêîâ. Óñîâåðøåíñòâîâàííûå áîëîìåòðû èñïîëüçóþòñÿ ïî ñåé äåíü. Òàêèì îáðàçîì, äèðåêòîð îáñåðâàòîðèè, ïðîôåññîð ôèçèêè è àñòðîíîìèè Ïèòñáóðãñêîãî óíèâåðñèòåòà Ëýíãëè âîøåë â èñòîðèþ íàóêè êàê èçîáðåòàòåëü áîëîìåòðà, à â èñòîðèþ ôèçèîëîãèè çðåíèÿ êàê ôèçèê, ýêñïåðèìåíòàëüíî îïðåäåëèâøèé ïîðîã àáñîëþòíîé ñâåòîâîé ÷óâñòâèòåëüíîñòè ãëàçà. Ñîãëàñíî Ëýíãëè [2], çíà÷åíèå ïî ýíåðãèè - 3·10–9 ýðã, ÷òî ñîîòâåòñòâóåò ïîòîêó, ñîäåðæàùåìó 800 ôîòîíîâ. Ýòî âñåãî ëèøü íà ïîðÿäîê âåëè÷èíû âûøå ñîâðåìåííûõ çíà÷åíèé. È ýòî ìîæíî ïîíÿòü, ïîñêîëüêó çíàíèÿ ôèçèîëîãèè çðåíèÿ òîãî âðåìåíè íå ïîçâîëèëî ó÷åñòü â ýêñïåðèìåíòå öåëûé ðÿä ôàêòîðîâ.

Ïîðîãîâûå çíà÷åíèÿ, ïîëó÷åííûå íåçàâèñèìî Þ.Á.Õàðèòîíîì è Ñ.È.Âàâèëîâûì â êîíöå 20 - íà÷àëå 30-õ ãîäîâ, áûëè ãîðàçäî áëèæå ê ñîâðåìåííûì. Êàê è Ëýíãëè, äëÿ ðåøåíèÿ ñîáñòâåííûõ ôèçè÷åñêèõ çàäà÷ èì òðåáîâàëîñü ðåãèñòðèðîâàòü èñêëþ÷èòåëüíî ñëàáûå ñâåòîâûå âñïûøêè. Áîëîìåòðû òîãî âðåìåíè èõ íå óäîâëåòâîðÿëè, à äðóãèõ òî÷íûõ ïðèáîðîâ åùå íå áûëî. Ñàìûì ÷óâñòâèòåëüíûì ïðèáîðîì îêàçûâàëñÿ ñîáñòâåííûé ãëàç ýêñïåðèìåíòàòîðà.

Îïûòû Þ.Á.Õàðèòîíà

Õàðèòîí, ôèçèê â æèçíè è ãóìàíèòàðèé â äóøå, â 1926 ã., ñîâñåì ìîëîäûì ÷åëîâåêîì, ïîïàë â Êåìáðèäæ, â Êàâåíäèøñêóþ ëàáîðàòîðèþ ê âåëèêîìó Ý.Ðåçåðôîðäó. Åìó áûëà ïðåäëîæåíà êëàññè÷åñêàÿ çàäà÷à - ñ÷åò a-÷àñòèö. Òîãäà øèðîêî èñïîëüçîâàëè ñöèíòèëëÿöèîííûé ìåòîä, íî, êàê íè ñòðàííî, åãî õàðàêòåðèñòèêè áûëè íåäîñòàòî÷íî õîðîøî èçó÷åíû.  ÷àñòíîñòè, îñòàâàëàñü íåèçâåñòíîé ÷óâñòâèòåëüíîñòü ìåòîäà, îïðåäåëÿåìàÿ â ïåðâóþ î÷åðåäü ïîðîãîì çðèòåëüíîãî âîñïðèÿòèÿ. Èçâåñòíûå ê òîìó âðåìåíè ðàáîòû ïî íàõîæäåíèþ àáñîëþòíîé ñâåòîâîé ÷óâñòâèòåëüíîñòè ãëàçà - ìèíèìàëüíîãî êîëè÷åñòâà êâàíòîâ, âûçûâàþùåãî çðèòåëüíîå îùóùåíèå, - äàâàëè çíà÷åíèÿ â èíòåðâàëå îò 10 äî 10 000.

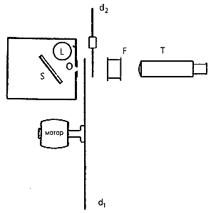
Õàðèòîí è åãî êîëëåãà Ñ.Ëè ðàçðàáîòàëè ïñèõîôèçè÷åñêóþ óñòàíîâêó, â êîòîðîé îïðåäåëåíèå ïîðîãà çðåíèÿ îñóùåñòâëÿëîñü â óñëîâèÿõ ïîâòîðÿþùèõñÿ íàáëþäåíèé ñöèíòèëëÿöèé [3].  êà÷åñòâå èñòî÷íèêà ñâåòà èñïîëüçîâàëè ãàçîíàïîëíåííóþ ëàìïó, ïîìåùåííóþ â ÿùèê ñ íåáîëüøèì îòâåðñòèåì. Äëÿ ïîëó÷åíèÿ äîñòàòî÷íî îäíîðîäíîãî ïîòîêà îòâåðñòèå îñâåùàëè ñâåòîì, îòðàæåííûì îò ìåäíîé ïëàñòèíêè, íàïûëåííîé îêñèäîì ìàãíèÿ. Ñèñòåìà èç äâóõ äèñêîâ ñ îòâåðñòèÿìè, âðàùàþùèõñÿ ñ ðàçíîé ñêîðîñòüþ, ïîçâîëÿëà ìåíÿòü äëèòåëüíîñòü âñïûøêè îò 0.1 äî 5·10–5ñ. Ñâåò, ïðîøåäøèé ÷åðåç âîäÿíîé ôèëüòð (ñ ïîëîñîé ïðîïóñêàíèÿ l = 470-520 íì), íàáëþäàëè íà ýêðàíå ñ ïîìîùüþ çðèòåëüíîé òðóáû. Èçìåíåíèå ñâåòîâîãî ïîòîêà, âõîäÿùåãî â òåëåñêîï âî âðåìÿ âñïûøêè, äîñòèãàëîñü äèàôðàãìèðîâàíèåì îáúåêòèâà.

Ñõåìà óñòàíîâêè Þ.Á.Õàðèòîíà. L - ãàçîíàïîëíåííàÿ ëàìïà; O - íåáîëüøîå îòâåðñòèå â ÿùèêå; S - ìåäíàÿ ïëàñòèíêà, íàïûëåííàÿ îêñèäîì ìàãíèÿ; d1, d2 - äèñêè ñ îòâåðñòèÿìè, âðàùàþùèåñÿ ñ ðàçíîé ñêîðîñòüþ; F - ôèëüòð, íàïîëíåííûé âîäíûì ðàñòâîðîì CuSO4 è K2Cr2O7. Ïîäáîðîì ñîñòàâà äîáèâàëèñü ìèíèìàëüíîãî ïîãëîùåíèÿ ïðè l = 500 íì. Ïîëîñà ïðîïóñêàíèÿ ôèëüòðà (l = 470-520 íì) ñîîòâåòñòâîâàëà öâåòó ñöèíòèëëÿöèé: ÷óâñòâèòåëüíîñòü ãëàçà â ýòîé ïîëîñå áëèçêà ê ìàêñèìàëüíîé. T - çðèòåëüíàÿ òðóáà.

 îïûòàõ èñïûòóåìûå äîâîëüíî áûñòðî óòîìëÿëèñü. Ïîýòîìó êàæäîìó èç íèõ ïðåäúÿâëÿëè òîëüêî ïî òðè âñïûøêè ñî çíà÷èòåëüíûì ïåðåðûâîì â ñåðèÿõ, çàòåì ðàññ÷èòûâàëè ñðåäíåå çíà÷åíèå ïî ïÿòè ïîâòîðàì. Âûÿñíèëîñü, ÷òî òðåíèðîâàííûå ïî ñðàâíåíèþ ñ íîâè÷êàìè âèäÿò âñïûøêè ìåíüøåé èíòåíñèâíîñòè. Àâòîðû îáúÿñíÿëè ýòîò ôàêò óìåíèåì îïûòíûõ íàáëþäàòåëåé ñìîòðåòü êðàåøêîì ãëàçà, ò.å. èñïîëüçîâàòü ïåðèôåðè÷åñêîå (ïàëî÷êîâîå) çðåíèå. Ïàëî÷êè, êàê èçâåñòíî, ïî÷òè íà äâà ïîðÿäêà áîëåå ÷óâñòâèòåëüíû, ÷åì êîëáî÷êè, îáåñïå÷èâàþùèå öåíòðàëüíîå çðåíèå.

Äëÿ îïûòíûõ èñïûòóåìûõ ïîðîãîâàÿ ðåàêöèÿ íà âñïûøêè äëèòåëüíîñòüþ ìåíüøå 1 ìñ âîçíèêàëà â ñðåäíåì ïðè 17 êâàíòàõ, ïàäàþùèõ íà ðîãîâèöó, äëÿ ìåíåå îïûòíûõ - 30. Âåëè÷èíà ïîðîãà çàâèñåëà îò äëèòåëüíîñòè âñïûøêè. Ñàìûå ñëàáûå âñïûøêè ôèêñèðîâàëèñü ãëàçîì òîëüêî ïðè ìàëûõ äëèòåëüíîñòÿõ - ìåíåå 1 ìñ. Ðåàêöèÿ ãëàçà íà ïðîäîëæèòåëüíûå ñâåòîâûå ñòèìóëû (äî 1 ñ) óâåëè÷èâàëà ïîðîãîâîå çíà÷åíèå äî 200 êâàíòîâ.

Õàðèòîí è Ëè îòìåòèëè îäíó èíòåðåñíóþ ôèçèîëîãè÷åñêóþ îñîáåííîñòü: äëèòåëüíîå ãîëîäàíèå è ïðèåì òîíèçèðóþùèõ ëåêàðñòâ ñíèæàëè ïîðîã ñ 17 äî 12 êâàíòîâ. Ìåõàíèçì òàêîé ñåíñèáèëèçàöèè äî ñèõ ïîð íå ïîíÿò.

Óñòàíîâêà Ñ.È.Âàâèëîâà

Åñëè Õàðèòîí ðåøàë çàäà÷ó ñ÷åòà a-÷àñòèö, òî Âàâèëîâ êàê ñïåöèàëèñò ïî îïòèêå è ëþìèíåñöåíöèè èçó÷àë ôëóêòóàöèè ñâåòà. Ãëàç ÷åëîâåêà îñòàâàëñÿ íåçàìåíèìûì îïòè÷åñêèì èíñòðóìåíòîì. Âûñòóïàÿ íà ïåðâîé êîíôåðåíöèè ïî ôèçèîëîãè÷åñêîé îïòèêå, ïðîõîäèâøåé â Ëåíèíãðàäå â 1934 ã., Âàâèëîâ ãîâîðèë: “Èñêëþ÷èòåëüíàÿ ÷óâñòâèòåëüíîñòü ãëàçà â òåìíîòå è íàëè÷èå ðåçêîãî ïîðîãà çðèòåëüíîãî îùóùåíèÿ äàþò âîçìîæíîñòü âèçóàëüíî íàáëþäàòü ôëóêòóàöèè ñâåòîâîãî ïîòîêà”. Åùå â 1927 ã. â ïåðâîì èçäàíèè êíèãè “Ãëàç è Ñîëíöå” îí ïèñàë:

“…ìãíîâåííî ãëàç â ñîñòîÿíèè ïî÷óâñòâîâàòü î÷åíü íåáîëüøîå ÷èñëî êâàíòîâ. <…> Ïîëüçóÿñü ýòèì, ìîæíî ãëàçîì îáíàðóæèòü ïðåðûâèñòîå, êâàíòîâîå ñòðîåíèå ñâåòà <…>. Ãëàç, òàêèì îáðàçîì, äåéñòâèòåëüíî “âîî÷èþ” ïîçâîëÿåò óáåäèòüñÿ â êâàíòîâîé, ïðåðûâèñòîé ñòðóêòóðå ñâåòà. Çàìå÷àòåëüíî, ÷òî òàêèì ñïîñîáîì îïðåäåëÿåòñÿ íå ÷óâñòâèòåëüíîñòü ãëàçà êàê öåëîãî, à ÷óâñòâèòåëüíîñòü òîëüêî ïîñëåäíèõ êëåòîê (ïàëî÷åê), îòâåòñòâåííûõ çà çðèòåëüíîå âîçáóæäåíèå. Îòäåëüíûå êâàíòû ñòàëè, â áóêâàëüíîì ñìûñëå ñëîâà, âèäèìûìè” [4].
Âàâèëîâ çäåñü ïîä÷åðêíóë âàæíåéøåå îáñòîÿòåëüñòâî ôèçèîëîãèè çðåíèÿ: ïîðîã âîçíèêíîâåíèÿ ñâåòîâîãî îùóùåíèÿ, ò.å. ðàáîòû çðèòåëüíîé ñèñòåìû â öåëîì, è âîçáóæäåíèÿ îòäåëüíîé ôîòîðåöåïòîðíîé êëåòêè - ýòî âîâñå íå îäíî è òî æå, îíè ñóùåñòâåííî ðàçëè÷àþòñÿ.

Âàâèëîâ èñõîäèë èç òîãî, ÷òî ïðè î÷åíü ìàëîì ñâåòîâîì ïîòîêå (à ýòî êàê ðàç âáëèçè ïîðîãà çðèòåëüíîãî îùóùåíèÿ) åãî ôëóêòóàöèè ñòàíîâÿòñÿ çíà÷èòåëüíûìè, ïîýòîìó èìåííî îíè è îãðàíè÷èâàþò âîñïðèÿòèå ñâåòà. Äåéñòâèòåëüíî, ïðè ìàëîì ÷èñëå ðåãèñòðèðóåìûõ ãëàçîì ôîòîíîâ n0 (îò åäèíèö äî ïîëóòîðà-äâóõ ñîòåí) ýòè ñëó÷àéíûå ÷èñëà ïîä÷èíÿþòñÿ ðàñïðåäåëåíèþ Ïóàññîíà, äëÿ êîòîðîãî õàðàêòåðíûå ôëóêòóàöèè ïðîïîðöèîíàëüíû (n0)1/2. Óâåðåííîå âûäåëåíèå ãëàçîì ñëàáîé ñâåòîâîé âñïûøêè âîçìîæíî, òîëüêî êîãäà n0 >> (n0)1/2 (ñèãíàë ïðåâûøàåò ôëóêòóàöèîííûé ðàçáðîñ), ò.å. ïðè äîñòàòî÷íî áîëüøèõ n0. Îòíîñèòåëüíî ñàìîé âåëè÷èíû n0 - ñòàòèñòè÷åñêè ñðåäíåãî çíà÷åíèÿ äëÿ êàæäîãî íàáëþäàòåëÿ - Âàâèëîâ ïðåäïîëîæèë, ÷òî â òåìíîòå ïîðîãó çðèòåëüíîãî âîñïðèÿòèÿ êîðîòêèõ ñâåòîâûõ âñïûøåê ñîîòâåòñòâóåò êàêîå-òî ìèíèìàëüíîå, äëÿ êàæäîãî ñâîå, ÷èñëî ïîãëîùàåìûõ ôîòîíîâ. Ïî åãî ñëîâàì, “åäèíñòâåííûé ìåòîä ïîëó÷èòü n0 äàþò ëèøü ñòàòèñòè÷åñêèå èçìåðåíèÿ, âðîäå ïðèìåíåííûõ íàìè. Òàêèì îáðàçîì <…> áóäåò íàéäåíî äåéñòâèòåëüíîå ÷èñëî ôîòîíîâ, ïîãëîùàåìîå ñåò÷àòêîé ó ïîðîãà ðàçäðàæåíèÿ. Âñå ïîòåðè ýíåðãèè, êîòîðûå âîçíèêàþò â ãëàçíîì ÿáëîêå âñëåäñòâèå îòðàæåíèÿ, ïîãëîùåíèÿ è ðàññåÿíèÿ è êîòîðûå íåèçáåæíî âëèÿþò íà ëþáûå ýíåðãåòè÷åñêèå ìåòîäû, îòïàäàþò ïðè ñòàòèñòè÷åñêèõ èçìåðåíèÿõ àâòîìàòè÷åñêè” [5].

Ñ 1932 ïî 1941 ã. â Ãîñóäàðñòâåííîì îïòè÷åñêîì èíñòèòóòå áûëè âûïîëíåíû ñîòíè ôëóêòóàöèîííûõ èçìåðåíèé ñ ó÷àñòèåì ñâûøå äåñÿòè íàáëþäàòåëåé. Ïåðåä Âàâèëîâûì è åãî ñîòðóäíèêàìè ñòîÿëà çàäà÷à äîáèòüñÿ êîððåêòíûõ óñëîâèé îïûòà: êðàòêîâðåìåííîñòè ñâåòîâûõ âñïûøåê íà ôîíå òåìíîâîé àäàïòàöèè, îñâåùåíèÿ íåáîëüøèõ ó÷àñòêîâ íà ïåðèôåðèè ñåò÷àòêè ïðè ñòðîãîé ôèêñàöèè èõ ïîëîæåíèÿ.

Çà 10 ëåò ðàáîòû óñòàíîâêà Âàâèëîâà íåñêîëüêî ðàç óñîâåðøåíñòâîâàëàñü, íî îáùàÿ ñõåìà è îñíîâíûå ýëåìåíòû ñîõðàíÿëèñü [6]. Ïîëîæåíèå ãîëîâû íàáëþäàòåëÿ çàêðåïëÿëîñü ñ ïîìîùüþ ïîäáîðîäíèêà òàêèì îáðàçîì, ÷òîáû âî âðåìÿ îïûòà ãëàç âñå âðåìÿ áûë ôèêñèðîâàí íà êðàñíóþ ñèãíàëüíóþ ëàìïî÷êó è ñâåò îò îñíîâíîé ýëåêòðè÷åñêîé ëàìïû (âèäèìûé êàê çåëåíàÿ òî÷êà) ïàäàë íà ïåðèôåðèþ ñåò÷àòêè - â 8° îò åå öåíòðà. Ñâåò îò ëàìïû ïðîõîäèë ê ãëàçó ÷åðåç äèàôðàãìó, çåëåíûé ôèëüòð, ñòîïó ñòåêëÿííûõ ïëàñòèíîê è íåéòðàëüíûé îïòè÷åñêèé êëèí. Ìåæäó ãëàçîì è ëàìïîé ðàñïîëàãàëñÿ âðàùàþùèéñÿ äèñê ñ îòâåðñòèåì, ðàçìåðû êîòîðîãî îáåñïå÷èâàëè êðàòêîâðåìåííîñòü ñâåòîâûõ âñïûøåê (0.1 ñ). Äëÿ èçìåðåíèé ñ ðàçëè÷íûìè äëèíàìè âîëí âìåñòî ëàìïû èñïîëüçîâàëè ìîíîõðîìàòîð ñ èñòî÷íèêîì ñâåòà.  õîäå îïûòà èíòåíñèâíîñòü ñâåòîâîãî ïîòîêà ïîñòåïåííî ïîíèæàëàñü ñíà÷àëà ðåîñòàòîì, çàòåì äîáàâëåíèåì ñòåêëÿííûõ ïëàñòèíîê è ââåäåíåèåì îïòè÷åñêîãî êëèíà. Íàáëþäàòåëü îòìå÷àë êàæäóþ âèäèìóþ âñïûøêó íàæèìîì êëþ÷à. Ïî ÷èñëó âñïûøåê è ïðîõîæäåíèé ñâåòà ÷åðåç îòâåðñòèÿ äèñêà, àâòîìàòè÷åñêè ôèêñèðóåìûõ íà áóìàæíîé ëåíòå, îïðåäåëÿëè âåðîÿòíîñòü âèäåíèÿ âñïûøåê.

Ñõåìà âòîðîãî âàðèàíòà óñòàíîâêè Ñ.È.Âàâèëîâà. S - êðàñíàÿ ëàìïî÷êà; G - ñòåêëÿííàÿ ïëàñòèíêà; L - ëàìïî÷êà, ïèòàåìàÿ îò àêêóìóëÿòîðà; m - çåðêàëî; O - äèàôðàãìà, çàêðûòàÿ ìîëî÷íûì ñòåêëîì; F - çåëåíûé ôèëüòð; P - ñòîïà ñòåêëÿííûõ ïëàñòèíîê; K - íåéòðàëüíûé îïòè÷åñêèé êëèí; D - äèñê, íàñàæåííûé íà îñü ñèíõðîííîãî ìîòîðà (M); T - ýòàëîííûé èñòî÷íèê ñâåòà (àáñîëþòíî ÷åðíîå òåëî).

×òîáû íàéòè àáñîëþòíîå ÷èñëî ôîòîíîâ N, ïàäàþùèõ íà çðà÷îê ãëàçà â óñëîâèÿõ ïîðîãà âîñïðèÿòèÿ, èñïîëüçîâàëè ýòàëîííûé èñòî÷íèê ýíåðãèè. Ñâåò èçëó÷àëî íàãðåòîå òåëî, âïëîòíóþ ïðèäâèíóòîå ê äèàôðàãìå (ñî ñíÿòûì ìàòîâûì ñòåêëîì). Çíàÿ ãåîìåòðè÷åñêèå ïàðàìåòðû ïîòîêà è õàðàêòåðèñòèêè èçëó÷àòåëÿ êàê ÷åðíîãî òåëà, ýêñïåðèìåíòàòîðû ìîãëè ñ äîñòàòî÷íîé òî÷íîñòüþ ðàññ÷èòàòü (ïî çàêîíó Ñòåôàíà-Áîëüöìàíà) ýíåðãèþ ôîòîíîâ, ôîðìèðóþùèõ ñâåòîâîå ïÿòíî íà çðà÷êå. Ýòè èçìåðåíèÿ â ñèíå-çåëåíîé îáëàñòè ñïåêòðà äëÿ ðàçíûõ íàáëþäàòåëåé äàëè N = 108-335 ôîòîíîâ, â ñðåäíåì 208. Ðàçëè÷èå ìåæäó n0 è N ñâèäåòåëüñòâîâàëî î òîì, ÷òî áîëüøàÿ ÷àñòü ýíåðãèè ïàäàþùåãî íà ãëàç ñâåòà òåðÿåòñÿ íà ïóòè ê ôîòîðåöåïòîðàì èç-çà îòðàæåíèÿ, ïîãëîùåíèÿ è ðàññåÿíèÿ â ãëàçíûõ ñðåäàõ è òêàíÿõ.

Áîëüøèíñòâî èçìåðåíèé áûëî ñäåëàíî â ñèíå-çåëåíîé îáëàñòè ñïåêòðà 500-550 íì.  ýòîé îáëàñòè, êàê ñëåäîâàëî èç îïûòîâ Âàâèëîâà è åãî ñîòðóäíèêîâ, çíà÷åíèÿ n0, ñîîòâåòñòâóþùèå ïîðîãó íà ñåò÷àòêå, äëÿ îäíîãî è òîãî æå íàáëþäàòåëÿ äîñòàòî÷íî ïîñòîÿííû, íî ó ðàçíûõ ëþäåé ìîãóò áûòü ðàçëè÷íû.  ðàáîòå 1933 ã. ïîðîãîâîå ÷èñëî ôîòîíîâ ñîñòàâèëî n0 = 47; â ðàáîòå 1934 ã. n0 = 8, à â ñâîäíîé òàáëèöå (ïî ðåçóëüòàòàì âñåõ îïûòîâ â 1932-1941 ãã.) n0 = 20.

Ýêñïåðèìåíòû Ñ.Õåõòà

 íà÷àëå 40-õ ãîäîâ àìåðèêàíñêèå ôèçèîëîãè Ñ.Õåõò, Ñ.Øëåð è Ì.Ïèðåí îïóáëèêîâàëè ðåçóëüòàòû ñâîèõ èññëåäîâàíèé ïî îïðåäåëåíèþ àáñîëþòíîãî çðèòåëüíîãî ïîðîãà. Ýòà ðàáîòà äî ñèõ ïîð ïðèçíàåòñÿ êëàññè÷åñêîé. Îïðåäåëåíèå ìèíèìàëüíîãî ÷èñëà êâàíòîâ ïðîâîäèëè, èçìåðÿÿ ìèíèìàëüíóþ ýíåðãèþ ñâåòà, ïàäàþùåãî íà ãëàç, êîòîðûé âûçûâàåò “âèäåíèå” âñïûøêè. Óñòàíîâêà Õåõòà îòëè÷àëàñü îò ñõåìû Âàâèëîâà ëèøü íåêîòîðûìè ìîäèôèêàöèÿìè. Òàê, óãîë ôèêñàöèè ãëàçà íà êðàñíóþ òî÷êó, êîòîðûé îáåñïå÷èâàë ïåðèôåðè÷åñêîå çðåíèå, áûë áOëüøèì (20°), óãëîâîé ðàçìåð îñíîâíîãî ïÿòíà íà ñåò÷àòêå - òîæå áî˜ëüøèì (10°). Ñâåò (l= 510 íì) ïðîõîäèë ê íàáëþäàòåëþ ÷åðåç íåéòðàëüíûé ôèëüòð, îïòè÷åñêèé êëèí è äâîéíîé ìîíîõðîìàòîð. Äëèòåëüíîñòü âñïûøêè (1 ìñ) îáåñïå÷èâàë ñïåöèàëüíûé çàòâîð, à èíòåíñèâíîñòü ñâåòà èçìåíÿëàñü ïåðåìåùåíèåì êëèíà. Íàáëþäàòåëü íàæèìîì êëþ÷à ïðîèçâîäèë âñïûøêó (îáû÷íî îêîëî 50 âñïûøåê îäíîé è òîé æå èíòåíñèâíîñòè) è ñîîáùàë, âèäåë ëè îí åå èëè íåò. ×èñëî ôîòîíîâ, ïàäàþùèõ íà çðà÷îê, ïåðåñ÷èòûâàëîñü ïîñëå èçìåðåíèÿ ýíåðãèè ñâåòà òåðìîýëåìåíòîì, óñòàíîâëåííûì íà äèàôðàãìå.

Ñõåìà óñòàíîâêè Ñ.Õåõòà. à - ãëàç íàáëþäàòåëÿ; P - äèàôðàãìà; FP - êðàñíàÿ òî÷êà; FL - ëèíçà; D - äèàôðàãìà; L - ëàìïà, ïèòàåìàÿ îò àêêóìóëÿòîðà; F - íåéòðàëüíûé ôèëüòð; W - îïòè÷åñêèé êëèí; Ì1Ì2 - äâîéíîé ìîíîõðîìàòîð; S - çàòâîð. Ïðè íàæèìå êíîïêè çàòâîð îòêðûâàåò ïóòü ñâåòîâîìó ïîòîêó (l = 510 íì) íà 1 ìñ.
Ìèíèìóì ýíåðãèè ñâåòà íà ðîãîâèöå, ïðè êîòîðîì íàáëþäàòåëè (7 ÷åëîâåê) ôèêñèðîâàëè âñïûøêè, âàðüèðîâàë â ïðåäåëàõ (2.1-5.7)·10–10 ýðã, ñîîòâåòñòâåííî ÷åìó è ïîðîãîâîå ÷èñëî ôîòîíîâ ñèíå-çåëåíîãî äèàïàçîíà ñîñòàâèëî 54-148. Ýòè ðåçóëüòàòû ïåðåêðûâàëèñü ñ äàííûìè Âàâèëîâà (108-335 ôîòîíîâ), íî áûëè ñóùåñòâåííî áîëüøå, ÷åì îöåíêà Õàðèòîíà è Ëè (17 ôîòîíîâ). Ïî ìíåíèþ Õåõòà, ïîñëåäíèå çíà÷åíèÿ ñëèøêîì ìàëû [7].

Äëÿ óòî÷íåíèÿ ïîðîãîâûõ çíà÷åíèé íåïîñðåäñòâåííî íà ñåò÷àòêå Õåõò è ñîàâòîðû ó÷ëè, ÷òî 4% ïàäàþùåãî íà ãëàç ñâåòà îòðàæàåòñÿ îò ðîãîâèöû, ïî÷òè 50% ïîãëîùàåòñÿ õðóñòàëèêîì è ïî êðàéíåé ìåðå ïî÷òè 85 % îñòàâøåãîñÿ ñâåòà ïðîõîäèò ÷åðåç ñåò÷àòêó, íå ïîãëîùàÿñü åþ. Ãîâîðÿ äðóãèìè ñëîâàìè, åñëè âåñü ñâåò, ïàäàþùèé íà ñåò÷àòêó, ïðèíÿòü çà 100%, òî ëèøü îêîëî 15% ïîãëîùàåòñÿ åþ, à îñòàëüíûå óõîäÿò â ÷åðíûé ïèãìåíòíûé ýïèòåëèé, ëåæàùèé çà ñåò÷àòêîé. Ïîñëå ïðîâåäåíèÿ òàêîé êîððåêòèðîâêè ïîëó÷àëîñü, ÷òî èç 54-148 ôîòîíîâ, ïàäàþùèõ íà ðîãîâèöó, ñåò÷àòêîé ïîãëîùàåòñÿ ëèøü 5-14. Îöåíèâàÿ ðàçìåðû îñâåùàåìîé îáëàñòè ñåò÷àòêè (~500 ïàëî÷åê) è ñ÷èòàÿ, ÷òî êàæäûé ôîòîí ïîãëîùàåòñÿ òîëüêî îäíîé ïàëî÷êîé, àâòîðû ïðèøëè ê âûâîäó: âñïûøêó ìîæíî “óâèäåòü”, òîëüêî åñëè íå ìåíåå 5-14 ïàëî÷åê ïî÷òè îäíîâðåìåííî ïîãëîòÿò ïî îäíîìó ôîòîíó.

Óòî÷íåííàÿ ñòàòèñòè÷åñêàÿ îöåíêà ôëóêòóàöèé ïîòîêà, ïîëó÷åííàÿ Õåõòîì, äàâàëà äëÿ çðèòåëüíîãî ïîðîãà íà ñåò÷àòêå ïÿòü-âîñåìü ôîòîíîâ, ÷òî î÷åíü õîðîøî ñîãëàñîâàëîñü ñ ðåçóëüòàòàìè èçìåðåíèé. Îòìåòèì çäåñü äîñòàòî÷íóþ áëèçîñòü îöåíîê Õåõòà (n = 5-8) è Âàâèëîâà (n0 = 20).

Ñîâðåìåííûå ïðåäñòàâëåíèÿ

Èòàê, ãëàâíûé âûâîä èç ðàííèõ ðàáîò Õàðèòîíà è Ëè (20-å ãîäû), Âàâèëîâà è ñîòðóäíèêîâ (30-å ãîäû) è Õåõòà è êîëëåã (40-å ãîäû) ñîñòîèò â òîì, ÷òî çðèòåëüíàÿ êëåòêà ñåò÷àòêè - ïàëî÷êà - âîçáóæäàåòñÿ ïðè ïîãëîùåíèè äàæå îäíîãî ôîòîíà.  íåé ôîòîí ïîãëîùàåòñÿ îäíîé èç 109 ìîëåêóë çðèòåëüíîãî ïèãìåíòà - ðîäîïñèíà. Ïàëî÷êà äîëæíà êàêèì-òî îáðàçîì “óçíàòü” âîçáóæäåííóþ ìîëåêóëó è îòâåòèòü íà ýòî îäíîêâàíòîâîå ñîáûòèå âîçíèêíîâåíèåì ýëåêòðè÷åñêîãî (ðåöåïòîðíîãî) ñèãíàëà.  ïîñëåäíèå ãîäû óäàëîñü âïðÿìóþ çàðåãèñòðèðîâàòü ýòîò î÷åíü ñëàáûé ýëåêòðè÷åñêèé ñèãíàë [8].  ðåçóëüòàòå ñòàëî ÿñíî: îòâåò çðèòåëüíîé êëåòêè (è ïàëî÷êè, è êîëáî÷êè) íà åäèíè÷íûé ôîòîí åñòü ñîáûòèå äèñêðåòíîå, íå çàâèñèò îò èíòåíñèâíîñòè ñâåòà, äëèòåëüíîñòè âñïûøêè è äëèíû âîëíû (öâåòà). Ó êîëáî÷åê, îäíàêî, åãî âåëè÷èíà îêàçàëàñü ñëèøêîì ìàëà äëÿ òîãî, ÷òîáû âîçíèê òàêîé ðåöåïòîðíûé ñèãíàë, êîòîðûé ïåðåäàâàëñÿ áû ñëåäóþùèì íåéðîíàì ñåò÷àòêè. Ýòèì îáúÿñíÿåòñÿ îòíîñèòåëüíî íèçêàÿ (ïðèìåðíî íà äâà ïîðÿäêà âåëè÷èíû) ÷óâñòâèòåëüíîñòü êîëáî÷åê ïî ñðàâíåíèþ ñ ïàëî÷êàìè.

 ïàëî÷êå ýëåêòðè÷åñêèé ðåöåïòîðíûé îòâåò íà ïîãëîùåíèå îäíîãî ôîòîíà äîñòàòî÷íî âåëèê (îêîëî 3% îò ìàêñèìàëüíîãî çíà÷åíèÿ), ÷òîáû ïðîéòè ÷åðåç ñèíàïñ ê ñëåäóþùèì íåéðîíàì ñåò÷àòêè. Ìåõàíèçì òðàíñäóêöèè â ïàëî÷êå áîëåå ýôôåêòèâåí, ÷åì â êîëáî÷êå. Ïîä òðàíñäóêöèåé ïîíèìàþò ïðåîáðàçîâàíèå ýíåðãèè ôîòîíà, ïîãëîùåííîãî ìîëåêóëîé ðîäîïñèíà, â ýëåêòðè÷åñêóþ ýíåðãèþ ôîòîðåöåïòîðíîãî ñèãíàëà. Îùóùåíèå æå ñëàáîé ñâåòîâîé âñïûøêè âîçíèêàåò òîëüêî ïðè ñóììèðîâàíèè â íåðâíûõ êëåòêàõ ñåò÷àòêè ñèãíàëîâ îò íåñêîëüêèõ âîçáóæäåííûõ ïàëî÷åê, ïðè÷åì â òå÷åíèå íåáîëüøîãî ïðîìåæóòêà âðåìåíè.

Çðèòåëüíàÿ ñèñòåìà ÷åëîâåêà ñïîñîáíà ðàñïîçíàâàòü êàê ñëàáóþ âñïûøêó îäíîâðåìåííîå ïîãëîùåíèå 5-7 ôîòîíîâ â ðåöåïòèâíîì ïîëå, íàñ÷èòûâàþùåì îêîëî 500 ïàëî÷åê. Ôèçè÷åñêèé ïðåäåë àáñîëþòíîé ñâåòîâîé ÷óâñòâèòåëüíîñòè ïàëî÷êè îïðåäåëÿåòñÿ íå òîëüêî âûñîêîé ýôôåêòèâíîñòüþ ïðîöåññà òðàíñäóêöèè, íî è íèçêèì óðîâíåì áèîëîãè÷åñêîãî òåìíîâîãî øóìà.

Òðàíñäóêöèÿ çàïóñêàåòñÿ ïîãëîùåíèåì ôîòîíà õðîìîôîðíîé ãðóïïîé (11-öèñ ðåòèíàëåì) â ìîëåêóëå ðîäîïñèíà. Äîñòàòî÷íî áîëüøàÿ ýíåðãèÿ, êîòîðóþ äîñòàâëÿåò ïîãëîùåííûé ôîòîí, òðàòèòñÿ íà ôîòîèçîìåðèçàöèþ 11-öèñ ðåòèíàëÿ. Âìåñòå ñ òåì èç-çà òåïëîâûõ ôëóêòóàöèé ìîëåêóëà ðîäîïñèíà ìîæåò ñ íåêîòîðîé âåðîÿòíîñòüþ àêòèâèðîâàòüñÿ è áåç ïîãëîùåíèÿ ôîòîíà (òàê íàçûâàåìàÿ ðåàêöèÿ ñïîíòàííîé òåìíîâîé èçîìåðèçàöèè). Òàêóþ òåìíîâóþ èçîìåðèçàöèþ ïàëî÷êà âîñïðèíèìàåò êàê ëîæíûé ñâåòîâîé ñèãíàë. Âåðîÿòíîñòü òåïëîâûõ èçîìåðèçàöèé êðàéíå ìàëà: ïðè êîìíàòíîé òåìïåðàòóðå åå ïîëóïåðèîä äîñòèãàåò 500-1000 ëåò. Ýòî îçíà÷àåò, ÷òî ìîëåêóëà ðîäîïñèíà èñêëþ÷èòåëüíî ñòàáèëüíà. Êàçàëîñü áû, òåìíîâîé øóì â çðèòåëüíîé ñèñòåìå äîëæåí áûòü íè÷òîæåí. Íî â íàðóæíîì ñåãìåíòå ïàëî÷êè ñîäåðæèòñÿ îãðîìíîå êîëè÷åñòâî ìîëåêóë ðîäîïñèíà (ó ÷åðåïàõè è ëÿãóøêè ~109, ó ÷åëîâåêà ~108), è ñóììàðíîå ÷èñëî ñïîíòàííûõ èçîìåðèçàöèé â êàæäîé ïàëî÷êå ìîæåò áûòü íå ñòîëü óæ ìàëî. Ïîýòîìó â çðèòåëüíîé ñèñòåìå âîçíèêàåò øóì, êîòîðûé ÷åëîâåê, äîëãî íàõîäÿñü â ïîëíîé òåìíîòå, ìîæåò “óâèäåòü” êàê î÷åíü ðåäêèå ñëó÷àéíûå ñâåòîâûå âñïûøêè.

Èòàê, ïàëî÷êà ñïîñîáíà óâåðåííî äåòåêòèðîâàòü îäèí ôîòîí, ò.å. ïðåäñòàâëÿåò ñîáîé ýôôåêòèâíûé ñ÷åò÷èê êâàíòîâ ñâåòà. Ñåé÷àñ äîñòàòî÷íî ÿñåí ìîëåêóëÿðíûé ìåõàíèçì, îáåñïå÷èâàþùèé âûñîêóþ ÷óâñòâèòåëüíîñòü ïàëî÷êè [9]. Ôîòîèçîìåðèçàöèÿ 11-öèñ ðåòèíàëÿ â ìîëåêóëå ðîäîïñèíà çàïóñêàåò êàñêàä ôåðìåíòàòèâíûõ ðåàêöèé, óñèëèâàþùèé ñèãíàë â 105-106 ðàç.  ðåçóëüòàòå â íàðóæíîì ñåãìåíòå ïàëî÷êè âîçíèêàåò ýëåêòðè÷åñêèé ñèãíàë, êîòîðûé ðàñïðîñòðàíÿåòñÿ âäîëü êëåòêè ïî ïëàçìàòè÷åñêîé ìåìáðàíå è ïåðåäàåòñÿ â ïåðâîì ñèíàïñå ñëåäóþùèì íåðâíûì êëåòêàì ñåò÷àòêè. Ïî ñóùåñòâó ôîòîòðàíñäóêöèÿ - ýòî âàðèàíò êëàññè÷åñêîé öåïíîé ðåàêöèè, ïîäîáíîé àòîìíîìó âçðûâó, òîëüêî ïðîèñõîäÿùèé â ñâåòî÷óâñòâèòåëüíîì íàðóæíîì ñåãìåíòå çðèòåëüíîé êëåòêè.

 Âíóòðè íàðóæíîãî ñåãìåíòà ïàëî÷êè íàõîäèòñÿ íåñêîëüêî ñîòåí ôîòîðåöåïòîðíûõ äèñêîâ, êàæäûé èç êîòîðûõ ñîäåðæèò äî 106 ìîëåêóë çðèòåëüíîãî ïèãìåíòà ðîäîïñèíà.  ìåìáðàíå ôîòîðåöåïòîðíîãî äèñêà íàõîäÿòñÿ òàêæå îñíîâíûå áåëêè - ó÷àñòíèêè ïðîöåññà òðàíñäóêöèè: Ð - ðîäîïñèí, Ò - òðàíñäóöèí èëè G-áåëîê è ÔÄÝ - ôåðìåíò ôîñôîäèýñòåðàçà; â öèòîïëàçìå íàðóæíîãî ñåãìåíòà - ôåðìåíò ãóàíèëàòöèêëàçà - ÃÖ.  òåìíîòå ðîäîïñèí, òðàíñäóöèí è ôîñôîäèýñòåðàçà íåàêòèâíû. Èîííûé êàíàë â ïëàçìàòè÷åñêîé ìåìáðàíå îòêðûò áëàãîäàðÿ “ñèäÿùèì” íà íåì ìîëåêóëàì öèêëè÷åñêîãî ãóàíîçèíìîíîôîñôàòà - öÃÌÔ. ×åðåç îòêðûòûé èîííûé êàíàë âíóòðü êëåòêè ïî ãðàäèåíòó êîíöåíòðàöèè ïîñòóïàþò èîíû íàòðèÿ (Na+) è êàëüöèÿ (Ca++).  ðåçóëüòàòå íà ìåìáðàíå ïîääåðæèâàåòñÿ ýëåêòðè÷åñêèé ïîòåíöèàë –40 ìÂ. Ïðè ïîãëîùåíèè êâàíòà ñâåòà ìîëåêóëîé ðîäîïñèíà ïðîèñõîäèò èçîìåðèçàöèÿ õðîìîôîðà (11-öèñ ðåòèíàëÿ) è èçìåíÿåòñÿ êîíôîðìàöèÿ áåëêîâîé ÷àñòè ìîëåêóëû. Ýòî ïðèâîäèò ê îáåñöâå÷èâàíèþ ðîäîïñèíà, êîòîðûé àêòèâèðóåò òðàíñäóöèí (Ò), â ñâîþ î÷åðåäü âçàèìîäåéñòâóþùèé ñ ôîñôîäèýñòåðàçîé (ÔÄÝ). Àêòèâèðîâàííûé ÔÄÝ ãèäðîëèçóåò öÃÌÔ, âñëåäñòâèå ÷åãî åãî êîíöåíòðàöèÿ â öèòîïëàçìå íàðóæíîãî ñåãìåíòà ïàäàåò. Èîííûé êàíàë, êîòîðûé òåðÿåò öÃÌÔ, çàêðûâàåòñÿ, ïëàçìàòè÷åñêàÿ ìåìáðàíà ãèïåðïîëÿðèçóåòñÿ, è âîçíèêàåò ýëåêòðè÷åñêèé íåðâíûé ñèãíàë. Öåïíàÿ ðåàêöèÿ Ð-Ò-ÔÄÝ ïðèâîäèò ê óñèëåíèþ ñâåòîâîãî ñèãíàëà â 105-106 ðàç.

Îäíî èç óäèâèòåëüíûõ è âàæíûõ ñâîéñòâ ïàëî÷êè êàê ñ÷åò÷èêà îäèíî÷íûõ ôîòîíîâ - ïîñòîÿíñòâî ôîðìû è âåëè÷èíû ýëåêòðè÷åñêîãî îòêëèêà, êîòîðîå îáåñïå÷èâàåòñÿ ñòðîãî îïðåäåëåííîé ãåîìåòðèåé êëåòêè. Ïàëî÷êà íàïîìèíàåò ôîòîóìíîæèòåëü ñ ñîòíÿìè èëè äàæå òûñÿ÷àìè îðèåíòèðîâàííûõ ôîòîðåöåïòîðíûõ äèñêîâ.  ïëàçìàòè÷åñêîé ìåìáðàíå, îêðóæàþùåé âñþ êëåòêó, ðàâíîìåðíî ðàñïðåäåëåíû èîííûå êàíàëû. Åñëè ñâåòîâàÿ âñïûøêà äîñòàòî÷íî ÿðêàÿ è íàñ÷èòûâàåò íå äåñÿòîê, à ìíîæåñòâî ôîòîíîâ, îíè ïîãëîùàþòñÿ ìîëåêóëàìè ðîäîïñèíà ïî âñåé äëèíå íàðóæíîãî ñåãìåíòà. È òîãäà ýëåêòðè÷åñêèé îòâåò ïàëî÷êè ñóùåñòâåííî âûøå. Íî âñå ðàâíî ýòîò îòíîñèòåëüíî áîëüøîé ýëåêòðè÷åñêèé ñèãíàë âñåãî ëèøü ñóììà îäíîôîòîííûõ ñèãíàëîâ.

Èíûìè ñëîâàìè, ýëåìåíòàðíûé àêò â ðàáîòå çðèòåëüíîé êëåòêè - åå ýëåêòðè÷åñêèé îòâåò íà ïîãëîùåíèå åäèíè÷íîãî ôîòîíà. Òàêèì îáðàçîì, äîñòàòî÷íî âûñîêàÿ ýíåðãèÿ èçîìåðèçàöèè 11-öèñ ðåòèíàëÿ, ñïåöèôè÷íîñòü è âûñîêàÿ ýôôåêòèâíîñòü ôîòîòðàíñäóêöèè, óäèâèòåëüíîå ïîñòîÿíñòâî ïàðàìåòðîâ ôîòîðåöåïòîðíîãî ýëåêòðè÷åñêîãî îòâåòà íà ïîãëîùåíèå åäèíè÷íîãî ôîòîíà è, âîçìîæíî, íåêîòîðûå äðóãèå ìåõàíèçìû è îáåñïå÷èâàþò ðàáîòó ïàëî÷êè â ðåæèìå ñ÷åò÷èêà ôîòîíîâ ñ âûñîêèì îòíîøåíèåì ñèãíàë-øóì.

Èòàê, àáñîëþòíàÿ ñâåòîâàÿ ÷óâñòâèòåëüíîñòü çðèòåëüíîé ñèñòåìû (ãëàçà è ìîçãà) îïðåäåëÿåòñÿ íàèìåíüøèì êîëè÷åñòâîì ñâåòîâîé ýíåðãèè, êîòîðîå âûçûâàåò ñóáúåêòèâíîå îùóùåíèå ñâåòà.  íàñòîÿùåå âðåìÿ ïîðîã ñâåòîâîãî âîñïðèÿòèÿ ýêñïåðèìåíòàëüíî îïðåäåëåí â (4-7)·10–10 ýðã/ñ. Ýòî - ìèíèìàëüíûé ïîòîê ñâåòîâîé ýíåðãèè îò òî÷å÷íîãî èñòî÷íèêà, êîòîðûé ïàäàåò íà ðîãîâèöó ãëàçà è âîñïðèíèìàåòñÿ ìîçãîì êàê âñïûøêà ñâåòà. Äëÿ ôîòîíîâ ñ äëèíîé âîëíû 507 íì (ìàêñèìóì êðèâîé âèäíîñòè ïàëî÷êîâîãî çðåíèÿ) òàêàÿ ïîðîãîâàÿ ýíåðãèÿ ñîîòâåòñòâóåò 50-150 ôîòîíàì. Îêîëî ïîëîâèíû ýòîé ýíåðãèè òåðÿåòñÿ íà ïóòè ê ñåò÷àòêå â îïòè÷åñêèõ ñðåäàõ ãëàçà, ãëàâíûì îáðàçîì çà ñ÷åò îòðàæåíèÿ îò ðîãîâèöû è ïîãëîùåíèÿ â õðóñòàëèêå è ñòåêëîâèäíîì òåëå. Èç äîõîäÿùèõ äî ñåò÷àòêè 25-75 ôîòîíîâ ñîáñòâåííî ôîòîðåöåïòîðíûìè êëåòêàìè ïîãëîùàåòñÿ âñåãî 5-15, îñòàëüíûå (íàçûâàåìûå “ëèøíèìè”) ïðîõîäÿò ñêâîçü ñåò÷àòêó è ïîãëîùàþòñÿ ëåæàùèì çà íåé îäíîñëîéíûì ÷åðíûì ïèãìåíòíûì ýïèòåëèåì.

Ïðèðîäà ôåíîìåíà ïðåäåëüíîé ñâåòîâîé ÷óâñòâèòåëüíîñòè çðèòåëüíîé êëåòêè íàõîäèò ñâîå îáúÿñíåíèå. Çàñëóãà Ñ.Ëýíãëè, Þ.Á.Õàðèòîíà, Ñ.È.Âàâèëîâà, Ñ.Õåõòà è ìíîãèõ äðóãèõ èññëåäîâàòåëåé ñîñòîèò â óñòàíîâëåíèè ñàìîãî ýòîãî ôåíîìåíà: îäíîãî ïîãëîùåííîãî ñâåòîâîãî êâàíòà äîñòàòî÷íî äëÿ ôèçèîëîãè÷åñêîãî âîçáóæäåíèÿ ðåöåïòîðà ñóìåðå÷íîãî çðåíèÿ - ïàëî÷êè ñåò÷àòêè ãëàçà.

Ðàáîòà âûïîëíåíà ïðè ïîääåðæêå Ðîññèéñêîãî ôîíäà ôóíäàìåíòàëüíûõ èññëåäîâàíèé. Ïðîåêò 99-06-80036.

Ëèòåðàòóðà

1. Langley S.P. // Proc. Amer. Acad. Sci. 1881. V.16. P.342.

2. Langley S.P. // Phil. Mag. 1889. V.27. Series 5, 1.

3. Chariton J., Lea C.A. // Proc. Roy. Soc. 1929. V.CXXII.-A. P.304-352.

4. Âàâèëîâ Ñ.È. Ãëàç è ñîëíöå. Ì., 1927.

5. Âàâèëîâ Ñ.È. Ôëóêòóàöèè ñâåòà è èõ èçìåðåíèÿ âèçóàëüíûì ìåòîäîì // Òð. ôèçèîë. îïòèêè. Ë., 1936. Ñ.332-342.

6. Áðóìáåðã Å.Ì., Âàâèëîâ Ñ.È. // Èçâ. ÀÍ ÑÑÑÐ (ÎÌÅÍ). 1933. ¹7. Ñ.919-941.

7. Hecht S., Shlaer S., Pirenne M.H. // J. General Physiology. 1942. V.25. P.819-840.

8. Îñòðîâñêèé Ì.À., Ãîâàðäîâñêèé Â.È. Ìåõàíèçìû ôîòîðåöåïöèè ïîçâîíî÷íûõ // Ôèçèîëîãèÿ çðåíèÿ. Ì., 1992. Ñ.5-59.

9. Pepe U.M. // J. Photochem. Photobiology. 1999. V.48. P.1-10.

 


VIVOS VOCO! - ÇÎÂÓ ÆÈÂÛÕ!
Ìàé 2001