№5, 2007 г.

© Гуляев Ю.В., Зильберман П.Е., Эпштейн Э.М.

Как ток спины переносит
Спинтроника многослойных ферромагнетиков

Ю.В.Гуляев, П.Е.Зильберман, Э.М.Эпштейн

Юрий Васильевич Гуляев, академик РАН, генеральный директор Института радиотехники и электроники им.В.А.Котельникова РАН.
Петр Ефимович Зильберман, доктор физико-математических наук, заведующий лабораторией того же института.
Эрнест Майорович Эпштейн, доктор физико-математических наук, ведущий научный сотрудник того же института.

Твердотельная электроника второй половины ХХ в. была основана на переносе заряда электронов и управлении им при помощи электрических и магнитных полей. В конце века возникло и стало быстро развиваться новое направление, активно использующее то обстоятельство, что электрон, помимо заряда, обладает спином и связанным с ним магнитным моментом. Это направление получило название "спиновая электроника", или "спинтроника", ему сопутствует смещение акцентов как в отношении основных изучаемых эффектов, так и в отношении используемых материалов. На первый план выходят ферромагнитные металлы. В "обычной", зарядовой, электронике металлам отводилась довольно пассивная роль из-за высокой концентрации свободных электронов, экранирующих электрические поля и исключающих возможность нарушать зарядовую нейтральность и управлять распределением заряда. Что касается магнитных полей, то их воздействие на движение электронов, будучи эффектом релятивистским (сила Лоренца пропорциональна отношению скорости заряда к скорости света), становится существенным лишь в достаточно сильных полях. Известные гальвано- и термомагнитные эффекты, обусловленные действием магнитного поля на движение свободных электронов твердого тела (эффект Холла, магнитосопротивление и др.), для металлов используются в основном при изучении их свойств - энергетического спектра, механизма рассеяния электронов и т.д.

О пользе спина

В ферромагнитных металлах ситуация существенно иная. Обменное (обусловленное перекрытием волновых функций) взаимодействие между электронами d-оболочек атомов приводит к появлению спонтанной намагниченности. Поскольку это взаимодействие имеет нерелятивистскую (электростатическую) природу, оно характеризуется значительной величиной (соответствующая энергия ~0.1-1 эВ в расчете на один электрон) и оказывает заметное влияние на динамику электронов. Возникает расщепление электронных энергетических зон на спиновые подзоны, которые соответствуют электронам со спиновым магнитным моментом, направленным параллельно вектору спонтанной намагниченности ("вверх"), и электронам с магнитным моментом, направленным антипараллельно этому вектору ("вниз"). Энергетическое расстояние между подзонами по порядку величины совпадает с указанной выше энергией. Чтобы создать такое расщепление в парамагнетике, понадобилось бы внешнее магнитное поле ~103 Тл; соответствующее поле часто называют обменным магнитным полем, хотя оно имеет не магнитную, а электростатическую природу.

Сказанное, однако, отнюдь не означает, что гораздо более скромные лабораторные магнитные поля ~10–3-1 Тл не могут влиять на поведение электронов в ферромагнитных металлах. Дело в том, что обменное взаимодействие изотропно: определяя существование и величину спонтанной намагниченности, оно не сказывается на направлении вектора намагниченности. Последнее определяется магнитокристаллической анизотропией материала, которой соответствует поле анизотропии ~10–3-1 Тл. Поэтому с помощью внешних магнитных полей того же порядка можно менять направление вектора намагниченности, т.е. управлять намного более сильным обменным полем; можно сказать, что внешнее магнитное поле играет роль своего рода реле.

Особенность обменного взаимодействия - его короткодействующая природа: характерный пространственный масштаб здесь ~10 нм. Поэтому использование спиновых эффектов открывает путь к дальнейшей миниатюризации электронных приборов и существенному повышению плотности магнитной записи информации.

Исследования, предвосхищающие развитие спиновой электроники, начались еще в 70-х годах прошлого века. В первую очередь заслуживают упоминания работа А.Г.Аронова и Г.Е.Пикуса о спиновой инжекции в полупроводниках [1], работа М.И.Дьяконова и В.И.Переля, в которой была показана возможность ориентации спинов при протекании тока [2], и работа М.Жюльера по туннельному магнитосопротивлению магнитных переходов [3]. Любопытно, что и сегодня, 30 лет спустя, интересы исследователей в этой области вращаются в основном вокруг трех указанных эффектов - инжекции в магнитных переходах носителей с определенным направлением спина, переключения таких переходов спин-поляризованным током и гигантского магнитосопротивления, хотя работы и ведутся широким фронтом, в них участвуют ученые из разных стран от Португалии до Японии и от Канады до Бразилии.

Началом современного этапа обычно считают работу [4], в которой было экспериментально показано, что электронный ток в ферромагнитном металле поляризован по спину. Поляризация тока обеспечила возможность управления переносом спинов в ферромагнитных структурах с помощью магнитных полей (поэтому SPINTRONICS часто расшифровывают как аббревиатуру SPIN-TRansport electrONICS).
 

Рис. 1. Схема спинового вентиля. Стрелками показано направление намагниченности в слоях. В верхнем слое намагниченность закреплена, т.е. ее направление не может быть изменено внешними воздействиями (полем или током), в нижнем слое намагниченность свободна.

Основным объектом изучения в данной области (чем-то вроде мухи-дрозофилы в генетике) стал так называемый спиновый вентиль (spin valve) (рис.1). В простейшем случае он состоит из двух ферромагнитных слоев, разделенных сверхтонким промежутком - спейсером - из немагнитного металла или диэлектрика (спейсер необходим, чтобы предотвратить прямое обменное взаимодействие между ферромагнитными слоями; в случае металлического спейсера перенос электронов через него происходит в баллистическом - бесстолкновительном - режиме, в случае диэлектрического - в режиме туннелирования, т.е. "просачивания" через потенциальный барьер). Один из ферромагнитных слоев (он именуется свободным, free) обладает малой энергией анизотропии и легко меняет направление своей намагниченности под действием внешнего магнитного поля соответствующей ориентации или, как выяснилось недавно, при протекании тока. Другой ферромагнитный слой (его называют закрепленным, pinned) имеет существенно бoльшую энергию анизотропии и переключается (меняет направление намагниченности) в гораздо более сильных полях. Сильная анизотропия закрепленного слоя может быть как присущей ему "от природы", так и наведенной в процессе изготовления; в частности, для этой цели используется явление однонаправленной анизотропии [5].

Для таких структур характерна сильная зависимость их электрического сопротивления при протекании тока поперек магнитных слоев от относительной ориентации векторов их намагниченности: при антипараллельной ориентации оно значительно выше, чем при параллельной (известны случаи обратного соотношения, но они достаточно редки). Поскольку ориентация свободного слоя может меняться под действием внешнего магнитного поля, это приводит к сильной зависимости сопротивления структуры от приложенного магнитного поля - к так называемому гигантскому магнитосопротивлению.

Был обнаружен и обратный эффект - изменение относительной ориентации намагниченности магнитных слоев спинового вентиля под действием протекающего через него тока, если плотность тока превосходит некоторое пороговое значение, типичная величина которого ~107 А/см2  [6]. Когда поток электронов течет из закрепленного слоя в антипараллельно ориентированный свободный, последний при превышении указанного порога скачком перемагничивается с возникновением параллельной конфигурации. Это проявляется в скачкообразном уменьшении сопротивления магнитного перехода, что при заданной величине тока означает также скачкообразное понижение напряжения на переходе. В некоторых случаях при достаточно высокой плотности тока возникал нестационарный режим в виде генерации спиновых волн (изменений во времени и пространстве намагниченности решетки, которые волнообразно распространяются по кристаллу) [7].

Столь яркие экспериментальные факты требовали, естественно, теоретического объяснения для понимания их механизма, анализа результатов и оптимизации условий эксперимента. Ждать экспериментаторам не пришлось, поскольку подобные эффекты за несколько лет до того предсказали независимо друг от друга американские теоретики Л.Берже [8] и Дж.Слончевский [9].

Где же переключатель?

Сущность ожидаемых эффектов состояла в следующем. Перенос электронов при протекании электрического тока в ферромагнитном проводнике сопровождается переносом потока спинового момента количества движения и связанного с ним потока магнитного момента. В таком потоке направление спинового магнитного момента электронов параллельно направлению магнитного момента решетки, поскольку это соответствует минимуму энергии sd-обменного взаимодействия (подробнее об этом речь пойдет ниже). При переходе электронов из одного ферромагнитного слоя спинового вентиля в другой, имеющий иную ориентацию магнитного момента решетки, былая параллельность нарушается, и электрону приходится менять ориентацию спина, чтобы "приспособиться к новым условиям". Параллельность восстанавливается на малом расстоянии от границы раздела между ферромагнетиками, в слое толщиной ~1 нм. Этот процесс сопровождается передачей спинового момента количества движения от электронов к решетке. Важно подчеркнуть, что даже при коллинеарной (параллельной или антипараллельной) ориентации намагниченности обоих слоев в свободном слое имеются флуктуации намагниченности (вектор магнитного момента одного или нескольких атомов отклоняется от равновесного положения). По отношению к таким моментам спин электронов, входящих в свободный слой, имеет как продольную, так и поперечную компоненты. Поскольку величина передаваемого в процессе взаимодействия момента пропорциональна плотности тока через переход, при определенной плотности тока возникает неустойчивость флуктуаций намагниченности решетки, которая и приводит к переключению.

В математическом отношении теория Берже-Слончевского сводится к введению в уравнение Ландау-Лифшица-Гильберта, которое описывает динамику магнитной решетки (связывает компоненты намагниченности решетки между собой и с внешними полями), дополнительного члена, обусловленного указанной передачей спинового момента и соответствующего росту отклонений от равновесного состояния.

Модель Берже-Слончевского была взята на вооружение экспериментаторами, при этом обычно использовался ее упрощенный вариант, где передача спинового момента считается однородно распределенной по толщине переключаемого слоя, так что дополнительный член в уравнении не зависит от координат. Модель дает правильное (соответствующее экспериментальным данным) значение пороговой плотности тока, при которой происходит переключение магнитного перехода из антипараллельной конфигурации в параллельную. В то же время порой наблюдалось некритическое применение модели как истины в последней инстанции. Так, не выдерживает критики объяснение в рамках этой модели гистерезисной зависимости сопротивления перехода от тока (рис.2), в частности, переключения перехода обратным током, когда поток электронов направлен от свободного слоя к закрепленному - для этого необходимо учесть продольную компоненту спинового потока.
 

Рис. 2. Зависимость сопротивления R магнитного перехода от плотности тока j (RP - сопротивление при параллельной ориентации слоев, RAP - сопротивление при антипараллельной ориентации). Стрелками показано направление изменения тока, точка a отмечает переключение в параллельную конфигурацию, точка b - обратный переход.

В Институте радиотехники и электроники РАН исследования в области спиновой электроники ведутся с 2000 г. Основное внимание было уделено альтернативному механизму влияния тока на состояние магнитного перехода. Механизм Берже-Слончевского учитывал лишь поперечную (по отношению к намагниченности переключаемого слоя) компоненту спинового потока, сопровождающего протекание тока. Что касается продольной компоненты, то ею пренебрегали, так сказать, по идейным соображениям: считалось, что электроны, спин которых коллинеарен магнитному моменту решетки, не могут заставить решетку изменить свою ориентацию.

В действительности дело обстоит иначе. При инжекции из закрепленного слоя в свободный электроны попадают в среду, "чужую" для них в нескольких отношениях. Прежде всего, они имеют направление спина, не коллинеарное намагниченности решетки в этой среде. Как уже упоминалось, от поперечной компоненты спина, с которой это связано, электроны освобождаются на расстоянии от границы слоев ~1 нм. Избавившись от поперечной компоненты, электрон оказывается в одной из двух спиновых подзон свободного слоя, однако процесс адаптации на этом не заканчивается. В равновесном состоянии подзоны должны быть заселены электронами не как попало, а по определенному закону, называемому распределением Ферми-Дирака. При таком распределении число электронов, переходящих в единицу времени из верхней подзоны в нижнюю, равно числу электронов, совершающих обратный переход (такие переходы означают переворот спина - изменение его направления на противоположное). Если равновесное распределение по тем или иным причинам нарушено, например, в верхней подзоне оказалось больше электронов, чем положено, то возрастает число электронов, переходящих в нижнюю подзону, и спиновое равновесие в конце концов восстанавливается. Время установления такого равновесия в ферромагнитных металлах при комнатной температуре порядка 10–12-10–13 с, электроны за это время вследствие диффузии успевают продвинуться на расстояние ~10 нм (заметим, что это на порядок больше того расстояния, на котором электроны расставались с поперечной компонентой спина). Поскольку в свободный слой из закрепленного непрерывно поступают новые электроны, все время, пока протекает ток, у границы слоев будет сохраняться область, в которой заполнение спиновых подзон остается неравновесным. Например, если в свободном слое спины электронов имеют преимущественное направление "вверх", а в закрепленном слое - "вниз", то при протекании потока электронов в направлении от закрепленного слоя к свободному в области свободного слоя указанной ширины будет находиться повышенное (по сравнению с равновесным) количество электронов со спином, направленным "вниз".

Здесь на сцену выступает уже упоминавшееся так называемое sd-обменное взаимодействие между свободными электронами (s-электронами) и электронами, локализованными на атомах решетки (d-электронами). Энергия этого взаимодействия минимальна, когда спины взаимодействующих электронов параллельны, и максимальна, когда они антипараллельны. Состояние, в котором имеется некоторое количество неравновесных электронов с магнитным моментом, направленным противоположно магнитному моменту решетки, обладает избыточной энергией, от которой система стремится избавиться, перейдя в состояние с меньшей энергией, т.е. изменив на противоположное направление магнитного момента решетки. Этому, однако, мешает магнитная анизотропия решетки, которая приводит к увеличению энергии системы при отклонении вектора намагниченности решетки от некоторого кристаллографического направления (так называемой легкой оси намагничивания). И до поры до времени, пока количество неравновесных спинов в свободном слое не слишком велико, данный слой остается в прежнем состоянии с намагниченностью решетки, антипараллельной намагниченности закрепленного слоя. Однако при достаточно высокой плотности тока (и, соответственно, достаточно высокой концентрации неравновесных спинов) такое состояние оказывается неустойчивым относительно малых флуктуаций намагниченности решетки, и вектор намагниченности меняет направление на противоположное. Происходит перемагничивание свободного слоя в направлении, параллельном намагниченности закрепленного слоя (аналогом может служить маятник на жесткой спице, поставленный в положение "вверх ногами", - он находится в равновесном положении, но малейшее отклонение от этого положения немедленно заставляет его свалиться в нижнее, устойчивое, состояние). Оценки показывают, что для переключения намагниченности требуется не такое уж сильное нарушение спинового равновесия: доля неравновесных спинов должна составлять приблизительно 10–4. Однако для этого необходима довольно высокая плотность тока - уже упоминавшаяся величина 107 А/см2, что согласуется и с экспериментом, и с теорией Берже-Слончевского.

Правы все!

Возникает естественный вопрос: какой же из двух механизмов имеет место в действительности, как они соотносятся между собой? Единственным способом дать удовлетворительный ответ было построить теорию, которая с самого начала учитывала бы существование обоих механизмов. Задача в конечном счете сводилась к тому, чтобы исследовать устойчивость состояния магнитной решетки свободного слоя, в который инжектируются свободные электроны из закрепленного слоя с иной ориентацией вектора намагниченности решетки. Другими словами, требовалось проследить судьбу малых отклонений (флуктуаций) намагниченности свободного слоя от исходного равновесного состояния при протекании достаточно большого тока через рассматриваемую систему - спиновый вентиль. При этом оказалось, что и передачу спинового крутильного момента (на которой строилась теория Берже-Слончевского), и sd-обменное взаимодействие решетки свободного слоя с инжектированными электронными спинами удобнее всего "загнать" в граничные условия к упомянутому уравнению Ландау-Лифшица-Гильберта, а в само уравнение никаких дополнительных членов не вводить. Два исследуемых механизма были представлены в граничных условиях двумя членами различной структуры, что позволяло на каждом этапе выделить роль каждого из механизмов.

Исходные ("затравочные") флуктуации, как это обычно делается, рассматривались в виде плоских волн (в данном случае спиновых волн) с некоторым значением частоты и волнового вектора, причем допустимые значения волнового вектора отбирались граничными условиями. Было получено дисперсионное уравнение, определяющее частоту рассматриваемой спиновой волны в зависимости от плотности тока, внешнего магнитного поля и параметров магнитного перехода. При некотором значении плотности тока мнимая часть частоты, определяющая затухание волны, меняет знак, что означает переход от затухания соответствующей флуктуации к ее нарастанию, т.е. к растущему со временем отклонению системы от прежнего равновесного состояния. Это нарастающее отклонение и приводит в конечном счете к переключению магнитного перехода. Оказалось, что для инжекционного механизма неустойчивой бывает только антипараллельная конфигурация, соответствующая максимальной энергии взаимодействия между электронами и решеткой. А в модели Берже-Слончевского в зависимости от направления тока возможно переключение как параллельной, так и антипараллельной конфигурации (для крутильного механизма они эквивалентны).

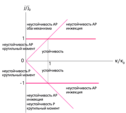
Так какой же из двух механизмов доминирует в возникновении неустойчивости? Выяснилось, что выбор зависит от величины константы затухания в уравнении Ландау-Лифшица-Гильберта, определяющей скорость затухания спиновых волн, - магнитной "вязкости" решетки. Эта константа имеет смысл той доли энергии, которую спиновая волна теряет за один период (или на расстоянии одной длины волны). При слабом затухании основной вклад вносит крутильный механизм Берже-Слончевского, при сравнительно сильном затухании - инжекционный механизм. Любопытно, что экспериментальные измерения константы затухания в изучаемых спиновых вентилях дали как раз такое ее значение (~0.03), которое определяет границу между "областями влияния" двух механизмов! Это означает, что вклад двух механизмов соизмерим, и ни одним из них в общем случае пренебрегать нельзя. Оба механизма работают совместно, помогая друг другу: результирующий порог неустойчивости (определяемый соответствующей плотностью тока) оказывается ниже, чем он был бы при наличии лишь одного из этих механизмов. Оказалось, что совместная игра двух механизмов определяет существование всех упомянутых эффектов, включая токовый гистерезис и генерацию спиновых волн (рис.3).
 

Рис. 3. Области устойчивости/неустойчивости параллельной (Р) и антипараллельной (АР) конфигураций при различных значениях плотности тока j и коэффициента затухания k. Границы областей показаны цветными линиями. Указан механизм, вызывающий неустойчивость. j0 - пороговая плотность тока, k0 - критическое значение коэффициента затухания, разделяющее области доминирования двух различных механизмов. Положительное направление тока соответствует движению электронов от закрепленного слоя к свободному.

Тогда возникает другой вопрос: существуют ли у этих механизмов какие-либо специфические проявления, позволяющие их опознать и различить? Положительный ответ на этот вопрос дало исследование зависимости частоты (ее вещественной части) флуктуаций от плотности тока, протекающего через магнитный переход. В случае инжекционного механизма по мере приближения к порогу неустойчивости происходит понижение ("смягчение") частоты флуктуаций, а при достижении порога она обращается в нуль, т.е. переключение происходит в апериодическом режиме (рис.4). Что касается крутильного механизма Берже-Слончевского, то здесь влияние тока на частоту флуктуаций отсутствует.
 

Рис. 4. Зависимость вещественной (Re) и мнимой (Im) части частоты флуктуаций w от плотности тока (w0 - частота спиновых волн в отсутствие тока, j0 - пороговая плотность тока).

"Смягчение" собственных частот колебаний характерно для так называемых фазовых переходов второго рода, при которых, начиная с некоторого значения одного из параметров (например, ниже некоторой определенной температуры), в системе возникает спонтанное нарушение симметрии. Примером может служить возникновение спонтанной намагниченности в ферромагнетиках или спонтанной электрической поляризации в сегнетоэлектриках ниже точки Кюри; появление выделенного направления соответственно магнитного или электрического дипольного момента означает, что симметрия системы понижается. Инжекционный механизм переключения магнитного перехода - это, по существу, такой же переход, только происходящий в неравновесных условиях - при протекании электрического тока; аналогом точки Кюри служит пороговая плотность тока.

Аналогия с фазовым переходом становится еще более тесной, если задаться следующим вопросом (и, конечно, найти на него ответ): к чему в конечном счете приведет развитие неустойчивости флуктуаций? В случае тонкого переключаемого слоя, когда намагниченность однородна по толщине слоя, неустойчивость приводит к переключению в устойчивое однородное состояние всего слоя в целом. Менее предсказуема из общих соображений противоположная ситуация, когда толщина слоя превосходит характерную длину неоднородности магнитной решетки - толщину доменной стенки. В этом случае переключение всего толстого слоя в присутствии внешнего магнитного поля оказывается энергетически невыгодным, и меняет магнитную ориентацию лишь часть свободного слоя, прилегающая к границе с закрепленным слоем (рис.5).
 

Рис. 5. Неоднородное переключение намагниченности свободного слоя при протекании тока в условиях спиновой инжекции. Стрелками показано направление магнитного момента решетки M = (0, My, Mz) на различных расстояниях от границы с закрепленным слоем при x = 0 (за единицу расстояния в направлении тока выбрана длина релаксации продольной составляющей спина).

По мере увеличения плотности тока, начиная с порогового значения, магнитный момент на границе антипараллельно ориентированных слоев начинает отклоняться от первоначального направления тем сильнее, чем больше превышение плотности тока над пороговым значением. Зависимость угла отклонения от плотности тока имеет в точности такой вид, как зависимость параметра, характеризующего нарушение симметрии (его называют параметром порядка), от управляющего параметра (например, температуры) при фазовом переходе. В зависимости от соотношения между сопротивлениями перехода и внешней цепи этот угол начинает увеличиваться на пороге неустойчивости либо начиная с нуля, как в случае фазового перехода второго рода (рис.6), либо скачком, как в случае фазового перехода первого рода (рис.7).
 

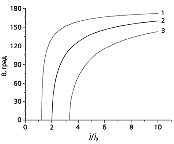
Рис. 6. Зависимость угла поворота вектора намагниченности на границе слоев q от плотности тока через переход при различных значениях внешнего магнитного поля Н. 1 - H/Ha = 0.5, 2 - H/Ha = 3,  3 - H/Ha = 10 (j0 - пороговая плотность тока, Ha - поле анизотропии).
Рис. 7. Зависимость угла поворота границы слоев q от напряжения V на переходе (V0 - напряжение на переходе при пороговой плотности тока для параллельной конфигурации перехода). Штриховыми линиями показаны скачкообразные изменения угла при повышении и понижении напряжения.

Изменение магнитной конфигурации свободного слоя приводит к изменению сопротивления перехода, и оказывается, существуют условия, при которых на вольтамперной характеристике появляется петля гистерезиса (рис.8). Зависимость тока от напряжения приобретает бистабильный характер (одному и тому же значению напряжения соответствуют два возможных значения тока, и реализация одного из них определяется предысторией, т.е. порядком проведения измерений) - получается система с двумя состояниями динамического равновесия. Системы такого рода всегда представляли интерес для радиотехники.
 

Рис.8. Бистабильная вольтамперная характеристика магнитного перехода (j0 - пороговая плотность тока, V0 - напряжение на переходе при пороговой плотности тока для параллельной конфигурации перехода). 

В настоящее время в нашем институте проводится работа по поиску условий повышения эффективности спиновой инжекции, что позволило бы существенно понизить порог неустойчивости, т.е. реализовать переключение при более низкой плотности электрического тока. Заманчивой перспективой представляется также получение инверсии заселенности спиновых подзон в результате инжекции неравновесных спинов, что открывало бы возможность усиления и генерации излучения в области 1012-1013 Гц. Такие частоты могут найти применение для эффективной накачки сверхмощных волоконно-оптических лазеров для использования в различных технологических процессах, а также в химии и биологии.

Работа выполнена при поддержке Российского фонда фундаментальных исследований.
Проекты 00-02-16384, 03-02-17540, 04-02-08248, 06-02-16197.
 
 

Литература

1. Аронов А.Г., Пикус Г.Е. // Физ. и тех. полупров. 1976. №10. С.1177-1180.

2. Dyakonov M.I., Perel V.I. // Phys. Lett. 1971. V.A35. P.459-460.

3. Gulliere M. // Phys. Lett. 1975. V.A54. P.225-226.

4. Baibich M.N., Broto J.M., Fert A. et al. // Phys. Rev. Lett. 1988. V.61. P.2472-2475.

5. Саланский Н.М., Ерухимов М.Ш. Физические свойства и применение магнитных пленок. Новосибирск, 1975.

6. Katine J.A., Albert F.J., Buhrman R.A. et al. // Phys. Rev. Lett. 2000. V.84. P.3149-3152.

7. Tsoi M., Jansen A.J.M., Bass J. et al. // Phys. Rev. Lett. 1998. V.80. P.4281-4284.

8. Berger L. // Phys. Rev. B. 1996. V.54. P.9353-9358.

9. Slonczewski J.C., Magn J. // Magn. Mater. 1996. V.159. P.L1-L7.

10. Гуляев Ю.В., Зильберман П.Е., Эпштейн Э.М., Эллиотт Р.Дж. // Письма в ЖЭТФ. 2002. Т.76. С.189-193.

11. Гуляев Ю.В., Зильберман П.Е., Эпштейн Э.М., Эллиотт Р.Дж. // Радиотехн. и электрон. 2003. Т.48. С.1030-1044.

12. Гуляев Ю.В., Зильберман П.Е., Эпштейн Э.М., Эллиотт Р.Дж. // ЖЭТФ. 2005. Т.127. С.1138-1152.

13. Гуляев Ю.В., Зильберман П.Е., Эпштейн Э.М. // Радиотехн. и электрон. 2005. Т.50. С.1031-1047.

14. Гуляев Ю.В., Зильберман П.Е., Эпштейн Э.М. // Радиотехн. и электрон. 2006. Т.51. С.991-993.
 



VIVOS VOCO
Май 2007